EasyManua.ls Logo

Sissel Hang Up - Page 12

Sissel Hang Up
21 pages
Print Icon
To Next Page IconTo Next Page
To Next Page IconTo Next Page
To Previous Page IconTo Previous Page
To Previous Page IconTo Previous Page
Loading...
AG 02 V4 32 / 80
Seite / Page 32
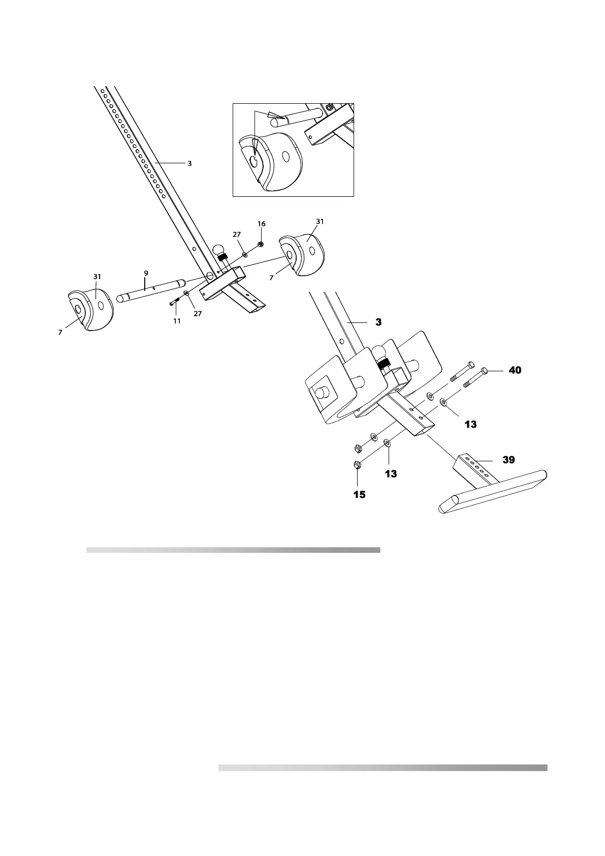
Step 5
Slide the Rod (9) through the large round hole on the side of the Adjustable Boom (3) and
secure the Rod (9) on the Adjustable Boom (3) with one M6x47 Hex Head Bolt (11), one M6
Lock Nut (16) and two Ø 16xØ 6.5x1.0 Washers (27). Slide one Steel Heel Holder Bracket (7)
and one Rubber Heel Holder (31) onto one end of the Rod (9) until the lock tooth is wedged into
the slot in the Rod (9) as shown in small figure. Use the same procedure to attach the other
Steel Heel Holder Bracket (7) and Rubber Heel Holder (31) onto the other end of the Rod (9).
Note: Make sure the lock teeth are wedged into the slots in the Rod (9) to lock the Steel Heel
Holder Brackets (7) and Rubber Heel Holders (31) in place before use.
Slide the bar of the foot rest (39) into the lower end of the adjustable arm (3) and line up two of
the holes in the bar of the foot rest (39) with two holes in the arm. Secure the bar of the foot rest
(39) in this position using two hex-head screws (40), nuts (15) and four washers (13).
The angle of the foot bar cross-tube must be equal to the angle at the slanted end of the arm.

Related product manuals