EasyManua.ls Logo

Skil 1817 - Assembly; Collet Chuck Care and Motor Assembly

Skil 1817
18 pages
Print Icon
To Next Page IconTo Next Page
To Next Page IconTo Next Page
To Previous Page IconTo Previous Page
To Previous Page IconTo Previous Page
Loading...
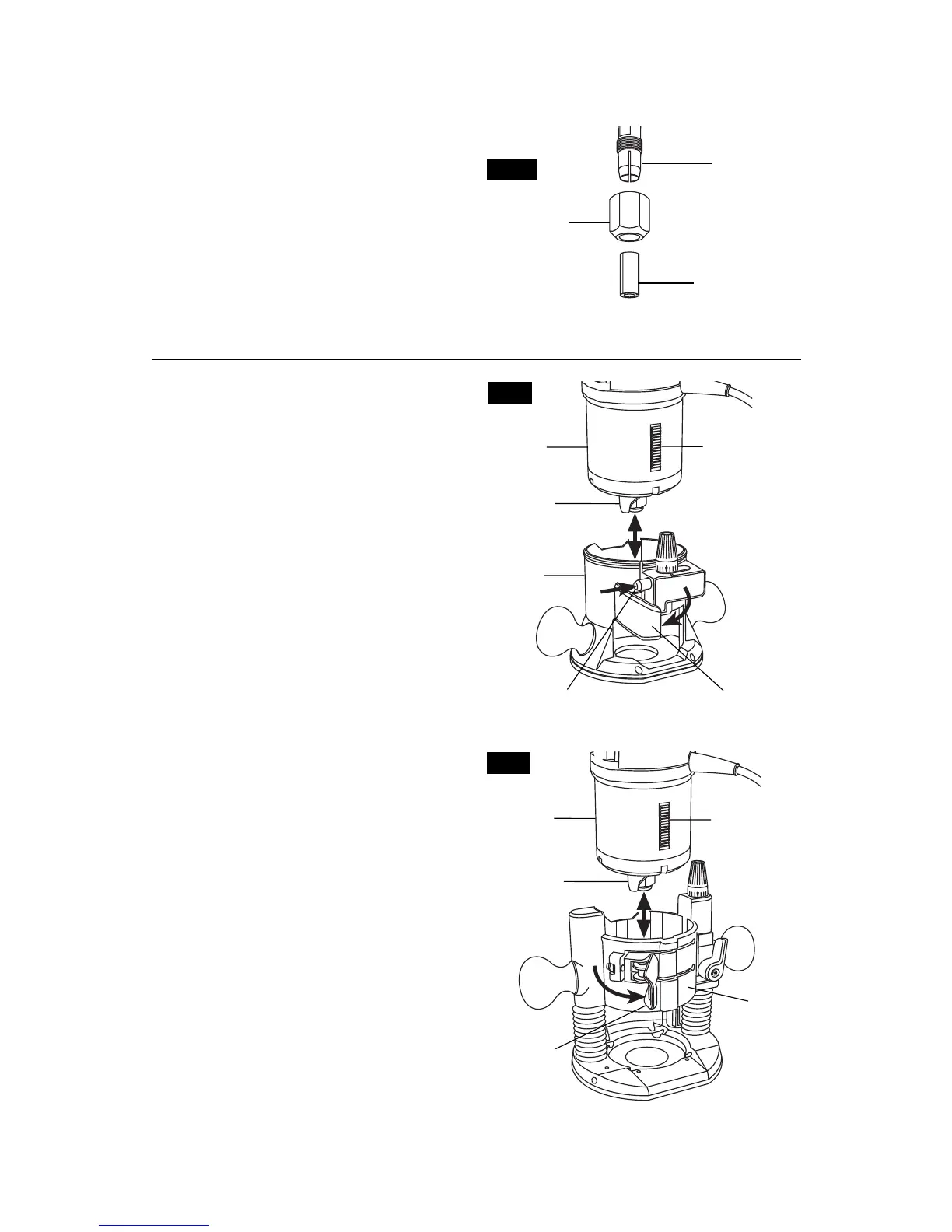
REMOVING MOTOR FROM BASE
To remove motor from fixed base:
1. Hold router in vertical position.
2. Open base clamp lever.
3. Push base release button in direction of
arrow and pull motor unit upwards from
base. Just before the motor is completely
out of the base, it will stop moving.
4. Depress the collet lock to fully disengage the
motor unit from the base (Fig. 7).
To remove motor from plunge base:
1. Hold router in vertical position.
2. Open base clamp lever, and pull motor unit
upwards from base. Just before the motor is
completely out of the base, it will stop
moving.
3. Depress the collet lock to fully disengage the
motor unit from the base (Fig. 8).
INSTALLING MOTOR INTO BASE
To install motor into fixed base:
1. Release the base clamp lever.
2. Depress collet lock on motor unit.
3. Align the fine adjust rack with the fine adjust
knob.
4. Depress base release button and slide
motor unit until the top of fine adjust rack is
level with the top of base.
5. Lock the base clamp lever.
To install motor into plunge base:
1. Release the base clamp lever.
2. Depress collet lock on motor unit.
3. Align the fine adjust rack with the slot on the
back of the plunge base.
4. Slide motor unit into base until fully seated.
5. Lock the base clamp lever.
BASE CLAMP
LEVER
COLLET CHUCK CARE
All router models are designed to accept 1/2"
and 1/4" shank bits. 1/4" shank bits require a
1/4" adapter sleeve. With the router bit
removed, continue to turn the collet nut counter-
clockwise until it is loose. To assure a firm grip,
occasionally blow out the collet chuck and clean
with a tissue or fine brush. The collet chuck
assembly is made up of two component parts
as illustrated (Fig. 6); check to see that the
adapter sleeve, if needed, is properly seated in
the collet nut and lightly thread the collet nut
back onto the 1/2" collet chuck. Replace a worn
or damaged collet chuck assembly immediately.
1/2" COLLET
CHUCK
COLLET
NUT
FIG. 6
COLLET CHUCK ASSEMBLY
1/4" ADAPTER
SLEEVE
BASE RELEASE
BUTTON
MOTOR
UNIT
FIXED
BASE
BASE
CLAMP
LEVER
FIG. 7
FIG. 8
-10-
FINE ADJUST
RACK
FINE ADJUST
RACK
MOTOR
UNIT
COLLET
LOCK
PLUNGE
BASE
COLLET
LOCK

Other manuals for Skil 1817

Related product manuals