EasyManua.ls Logo

Skil 4490 - Page 20

Skil 4490
40 pages
Print Icon
To Next Page IconTo Next Page
To Next Page IconTo Next Page
To Previous Page IconTo Previous Page
To Previous Page IconTo Previous Page
Loading...
-20-
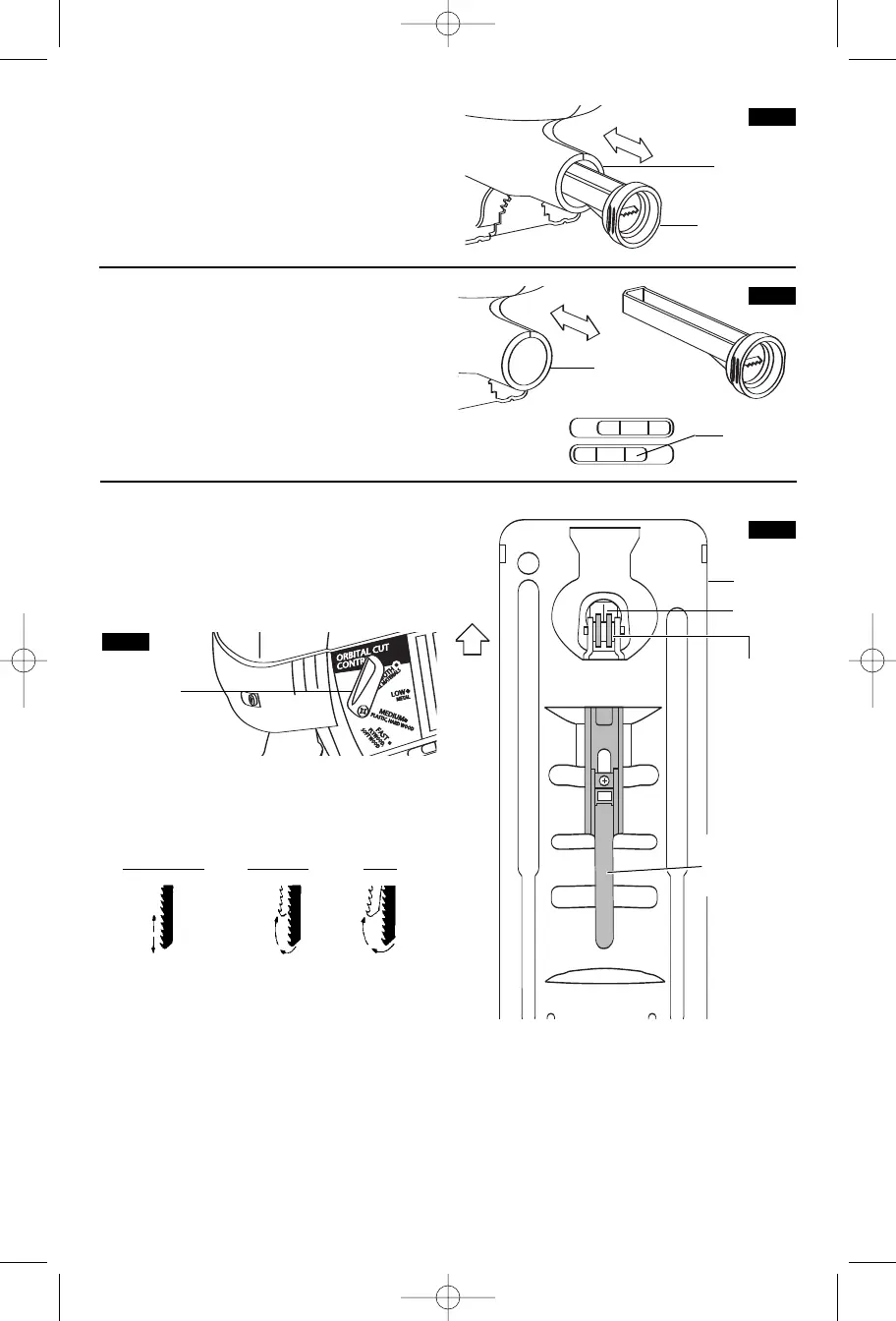
MODÈLES À MOUVEMENT ORBITAL
Les modèles à mouvement orbital sont munis d’un levier
(Fig. 6) qui permet de régler le mouvement orbital de la
position « sciage régulier » avec un mouvement normal
de haut en bas à la position orbitale maximum
permettant de scier plus vite dans les matériaux tendres.
Pour augmenter la valeur de l’orbite, réglez le levier sur
une position plus élevée, pour la diminuer, réglez-le sur
une position moindre. Si on désire éviter les éclats, il est
conseillé d’utiliser la position « sciage régulier ».
SCIAGE RÉGULIER LENT/MOYEN RAPIDE
ACIER DOUX, MÉTAUX MÉTAL, PLASTIQUE BOIS TENDRES
MOUS BOIS DURS
CONTREPLAQUÉ
TOUS MATÉRIAUX
ATTENTION : Pour obtenir un mouvement orbital, la
lame doit être dirigée DROIT DEVANT, son dos doit
être adossé dans la rainure du rouleau de guidage et la
semelle doit être poussée à fond vers l’avant. Pour
régler cette dernière, soulevez le levier de réglage de la
semelle et faites-le basculer complètement à l’opposé,
ensuite poussez la semelle à fond vers l’avant et
abaissez le levier de réglage de la semelle pour bloquer
celle-ci en position (Fig. 7).
Le mouvement orbital n’est pas visible quand la scie
sauteuse fonctionne à vide. Le mouvement orbital se
produit pendant le sciage. La différence de vitesse de
coupe est plus évidente dans les matériaux épais tels
que des bois de construction de 2 po d’épaisseur
nominale.
COMPARTIMENT DE RANGEMENT DE LAME
Votre scie sauteuse est munie d’un compartiment de
rangement des lames situé dans le raccord d’aspiration
de votre scie (Fig. 4). Pour retirer le compartiment,
sortez-le du raccord en tirant dans le sens de la flèche.
Assurez-vous toujours que le compartiment de
rangement des lames est bien emboîté dans le raccord
d’aspiration pour empêcher les lames de tomber.
EXTRACTION DE POUSSIÈRE
Votre scie sauteuse est pourvue d'un orifice poussières
pour l'extraction de la poussière et des copeaux.
Pour utiliser ce système, enlevez le compartiment de
rangement des lames et mettez l’interrupteur de la
soufflette à la position arrêt « 0 » (Fig. 5).
Fixez le flexible d'aspiration (accessoire en option) à
l'orifice poussières et raccordez l'extrémité opposée
du flexible à un aspirateur d'atelier.
COMPARTIMENT
DE RANGEMENT
DE LAME
FIG. 4
ORIFICE
POUSSIÈRES
FIG. 5
ON
O
I
O
OFF
I
=
=
INTERRUPTEUR
DE LA
SOUFFLETTE
ORIFICE
POUSSIÈRES
FIG. 6
LEVIER DE
COMMANDE
DE L’ORBITE
SEMELLE
LAME
ROULEAU
DE
GUIDAGE
LEVIER DE
RÉGLAGE DE
LA SEMELLE
FIG. 7
MARCHE
ARRÊT
SM 1619X01070 10-05 10/7/05 10:58 AM Page 20

Related product manuals