EasyManua.ls Logo

Skyjack SJ 46A - Loading;Unloading; Loading and Tie-Down

Skyjack SJ 46A
85 pages
Print Icon
To Next Page IconTo Next Page
To Next Page IconTo Next Page
To Previous Page IconTo Previous Page
To Previous Page IconTo Previous Page
Loading...
SJ 46A & SJ 46AJ
December 2007 Page 51
TM
Section 2 - Operation Loading/Unloading
2.12 Loading/Unloading
Know and heed all national, state/provincial and local
rules which apply to transporting of aerial platforms.
Only qualified personnel shall operate machinery
during loading/unloading.
Be sure vehicle capacity and loading equipment
hoists, chains, straps, etc., are sufficient to withstand
maximum aerial platform weight.
The transport vehicle must be parked on a level surface
and must be secured to prevent rolling while aerial
platform is being loaded or unloaded.
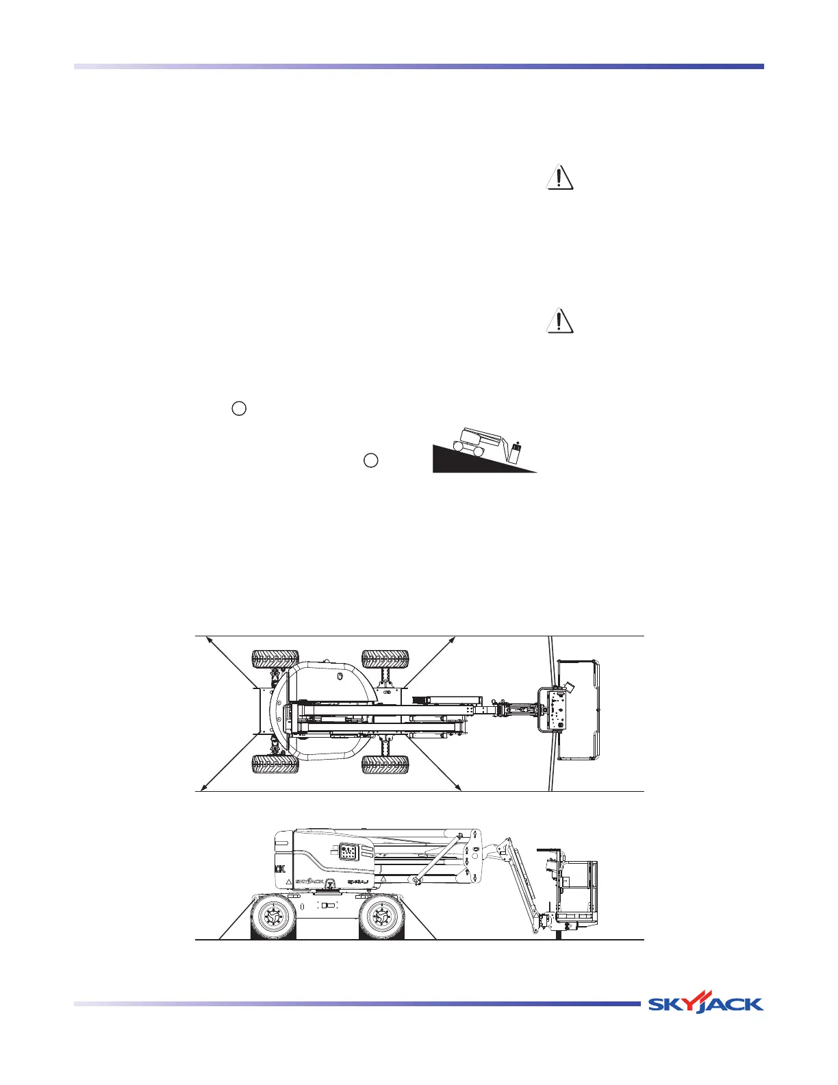
2.12-1 Loading and Tie-down
1. Lock turret using turret transportation lock
(refer to Section 2.12-2).
2. Turn key switch to off position and remove
key before transporting.
3. Turn main power disconnect switch to
” off
position.
4. Chock aerial platform wheels (if necessary).
5. Remove all loose items.
6. Anchor down aerial platform to transport surface
using tie-down points (refer to Figure 2-10).
7. Secure boom from side-to-side movement using
lower platform mount between boom end and
platform. Do not use excessive downward force
when securing boom section.
WARNING
Inspect aerial platform for loose or
unsecured items.
NOTE
For loading and unloading using a winch
line, refer to Section 2.13.
WARNING
DRIVING ON A SLOPE
When driving on a slope greater •
than 30%, the platform capacity
is limited to 300 lb. (136 kg).
The platform must be between •
the non-steer wheels and must
be on the downside of the hill.
When slope increases to •
above 45%, the forward drive
is disabled but reverse drive
remains active.
Figure 2-10. Tie-down Points

Table of Contents

Related product manuals