EasyManua.ls Logo

Smeg CPR115B3 - Page 6

Smeg CPR115B3
11 pages
Print Icon
To Next Page IconTo Next Page
To Next Page IconTo Next Page
To Previous Page IconTo Previous Page
To Previous Page IconTo Previous Page
Loading...
14
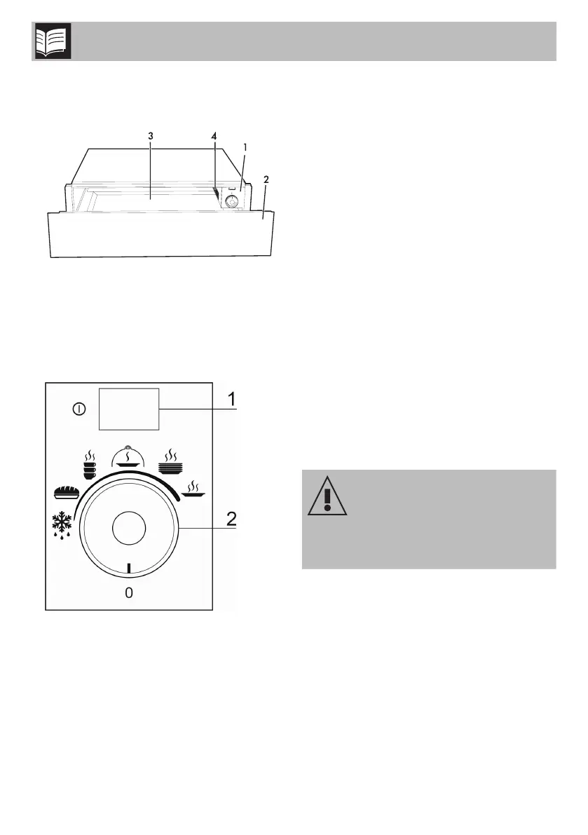
Description
2 Description
2.1 General Description
1 Control panel
2 Drawer
3 Non-slip base
4 Heating fan
2.2 Control panel
1 ON/OFF switch
Turns the appliance on and off.
2 Temperature knob
It allows you to select the required
function.
2.3 Operating principles
The appliance is equipped with a hot-
air ventilation system. A fan distributes
the heat from the heating element inside
the drawer in an optimal manner.
The temperature knob allows you to set
and control the correct temperature for
the crockery and food placed inside
the appliance. The circulating hot air
warms the crockery and food quickly
and evenly.
A protective grille prevents accidental
contact with the heating element and
fan.
The base of the drawer is covered with
non-slip material to stop dishes from
moving when the drawer is opened or
closed.
Capacity
Improper use
Risk of damages to the
appliance
Load the drawer with a maximum
of 15 kg.

Related product manuals