EasyManua.ls Logo

Smeg KD90HXE - Połączenie Elektryczne

Smeg KD90HXE
Print Icon
To Next Page IconTo Next Page
To Next Page IconTo Next Page
To Previous Page IconTo Previous Page
To Previous Page IconTo Previous Page
Loading...
Fig. 5
Fig. 6
Fig. 7
L2
L1
K
Z
Z
L
L
Z
PL
4
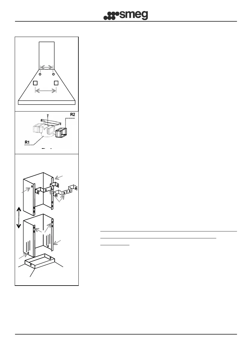
Wersja FILTRUJĄCA:
Pozostawić dostęp do wejścia silnika. Zainstalować ltr
węglowy w sposób opisany na str. 8.
Jeśli okap nie jest wyposażony w ltr węglowy, należy kupić
go oddzielnie w najbliższym autoryzowanym centrum Smeg.
Niektóre modele wyposażone w zespół złączy (Rys.6) do
mocowania na ścianie za pomocą kołków rozprężających na
odpowiedniej wysokości w celu przekierowania przepływu
powietrza do szczelin komina. Umieścić przedłużenia R2 na
bokach złącza R1. Przyłączyć złącze R1 do wyjścia korpusu
okapu za pomocą przewodu o średnicy 150mm.
INSTALACJA KOMINÓW (Rys. 7):
Umieścić wspornik komina (K) w górnej, w formie
jednego elementu lub dwóch na wybranej granicy.
Aby zamocować wspornik, należy wykonać dwa otwory
w ścianie. Wywiercić otwór i zamocować wspornik za
pomocą kołków rozprężających z wyposażenia.
Ostrożnie umieścić zespół kominów na okapie.
Przymocować dolny komin do okapu za pomocą śrub
Z. Ostrożnie umieścić górny komin do górnej granicy.
Przymocować górny komin do wspornika komina K za
pomocą śrub L.
POŁĄCZENIE ELEKTRYCZNE
Zaleca się, aby czynności połączenia elektrycznego
były wykonywane przez wykwalikowanego
instalatora.
W przypadku połączenia elektrycznego bezpośrednio
z siecią należy umieścić wyłącznik dwubiegunowy
między urządzeniem a siecią z minimalnym otworem
między stykami o wielkości 3mm, o wielkości zgodnej z
obciążeniem i z obowiązującymi przepisami.

Related product manuals