EasyManua.ls Logo

Smeg SLB600 - Starting the Washing Programme

Smeg SLB600
22 pages
Print Icon
To Next Page IconTo Next Page
To Next Page IconTo Next Page
To Previous Page IconTo Previous Page
To Previous Page IconTo Previous Page
Loading...
GB
1
7
5.11 SELECTION OF OPTIONS
Use the options buttons (indicated in chapter 4 – Description of controls) to enable machine options. A selected
option is highlighted by the option LED located above the button in question.
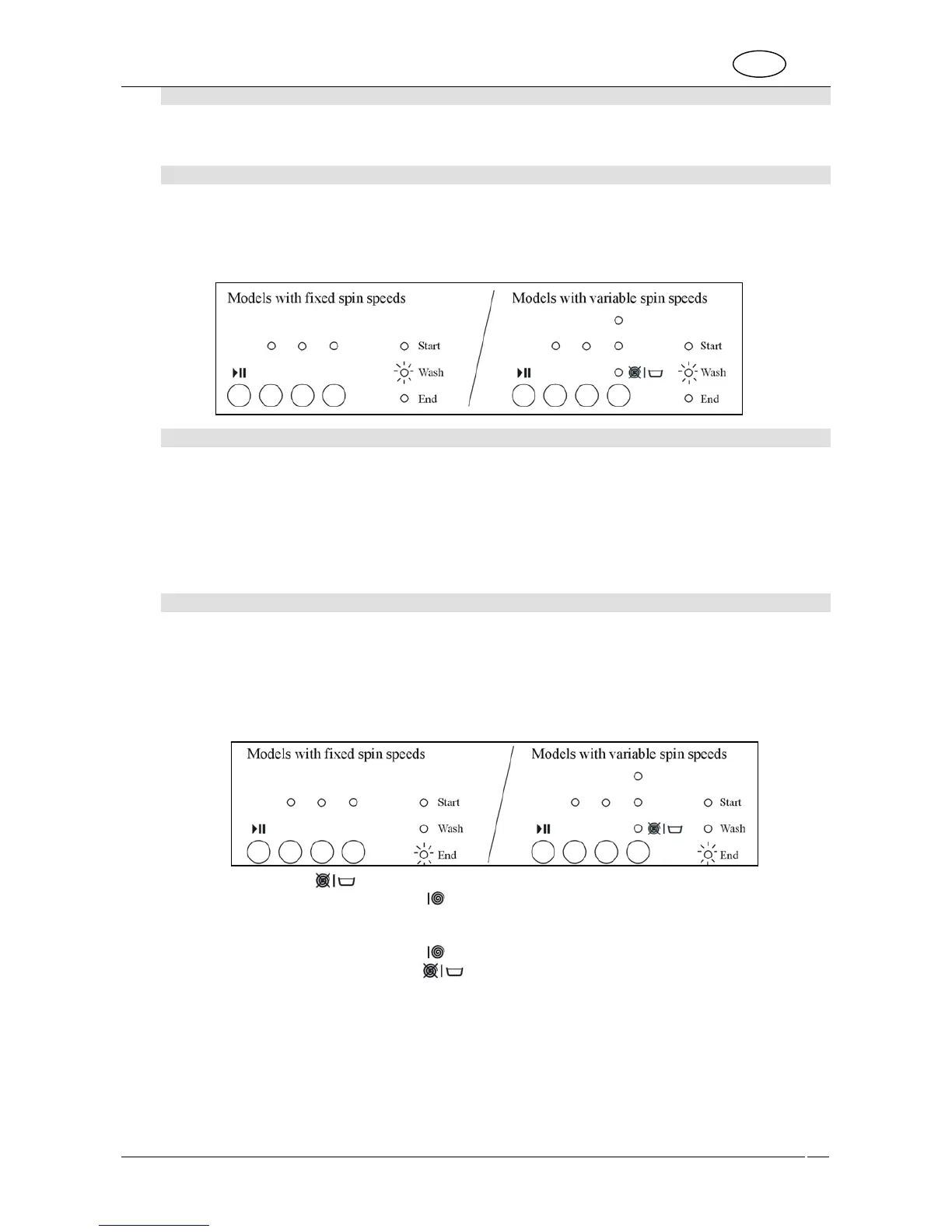
5.12 STARTING THE WASHING PROGRAMME
1. Before starting the selected programme, carefully close the door, open the water tap and add the
detergent and additive.
2. Press the “Start-Pause” button and the “Wash” programme phase LED lights up. After 10 seconds, the
machine starts automatically and performs the programmed cycle. During operation, the “Washing” LED
remains on.
5.13 INTERRUPTING OR CHANGING THE WASHING PROGRAMME
The washing programme may be interrupted at any time while it is running:
1. pressing the “Start/Pause” button for about 3 seconds. During the pause, the “Wash” programme phase
LED flashes. The programme can also be stopped by turning the programme/temperature selection knob
while the cycle is running.
2. If you wish to change the washing programme, simply select the new programme by turning the
programme knob without pausing the machine first. The new washing cycle will be performed starting
from the beginning. If the tub is already full of water, the new programme will omit the filling phase.
3. To resume the cycle, press Start-Pause again.
5.14 END OF PROGRAMME
The washing programmes are automatically completed and the “End” programme phase LED lights up.
1. Turn the programmes knob to OFF to switch off the machine
2. Before opening the door, wait 1 or 2 minutes to allow the safety device to disengage.
3. Remove the washing from the drum.
4. Leave the door ajar in order to allow the inside of the washing machine to dry.
5. Turn off the water tap.
If the disable spin option ( ) was selected, proceed as follows:
1. turn the programmes knob to “Drain
”;
2. press the “Start-Pause” button. The water is automatically drained on all programmes without spinning.
If you wish to drain the water and then spin:
1. turn the programmes knob to “Drain
2. deactivate the disable spin option (
) or, for models with spin speed selector, select one of the two
speeds;
3. press the “Start-Pause” button.

Related product manuals