EasyManua.ls Logo

Smeg STA120 - Description of Controls; Control Panel

Smeg STA120
21 pages
Print Icon
To Next Page IconTo Next Page
To Next Page IconTo Next Page
To Previous Page IconTo Previous Page
To Previous Page IconTo Previous Page
Loading...
2
7
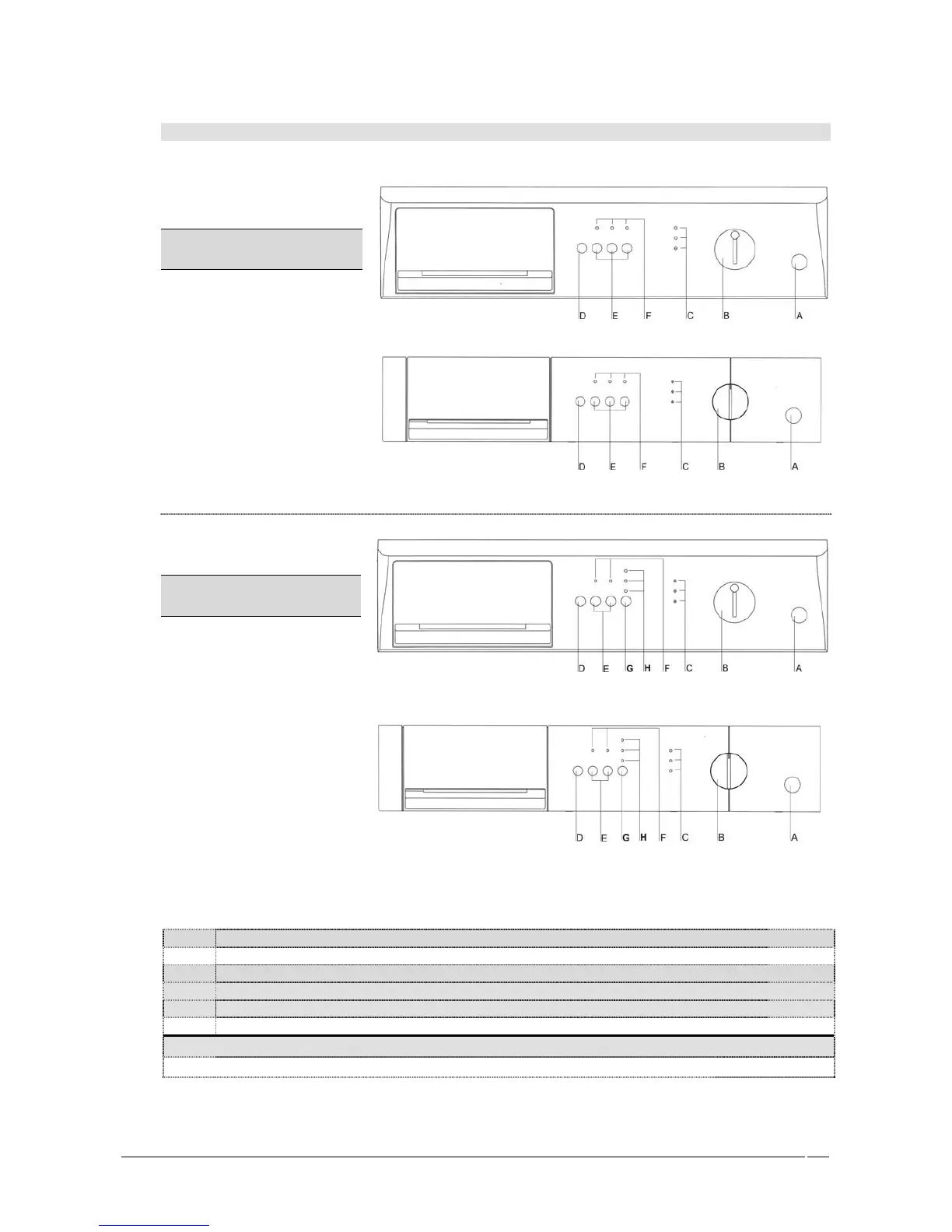
4. DESCRIPTION OF CONTROLS
4.1 CONTROL PANEL
All the commands and controls of the appliance are assembled together on the front panel.
Models with fixed
spin speed
Models with spin
speed selector
Description of controls
A
Open door button
B
ON-OFF and programme selection knob
C
Programme phase LED'S
D
Start-Pause button
E
Options buttons (a list follows in the description of controls)
F
Options enabled LED's
G
Select spin speed or stop with tub full button*
H
Spin speed and stop with tub full LED's*
*: for models with spin speed selector

Related product manuals