EasyManua.ls Logo

Smeg SY93BL - Description; General Description

Smeg SY93BL
54 pages
Print Icon
To Next Page IconTo Next Page
To Next Page IconTo Next Page
To Previous Page IconTo Previous Page
To Previous Page IconTo Previous Page
Loading...
Description
65
EN
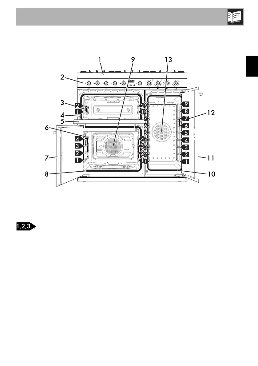
2 Description
2.1 General Description
1 Cooking hob
2 Control panel
Rack/tray support frames
3 Auxiliary oven light
4 Auxiliary oven seal
5 Auxiliary oven door
6 Multifunction oven light
7 Multifunction oven door
8 Multifunction oven seal
9 Multifunction oven fan
10 Vertical oven seal
11 Vertical oven door
12 Vertical oven light
13 Vertical oven fan

Related product manuals