EasyManua.ls Logo

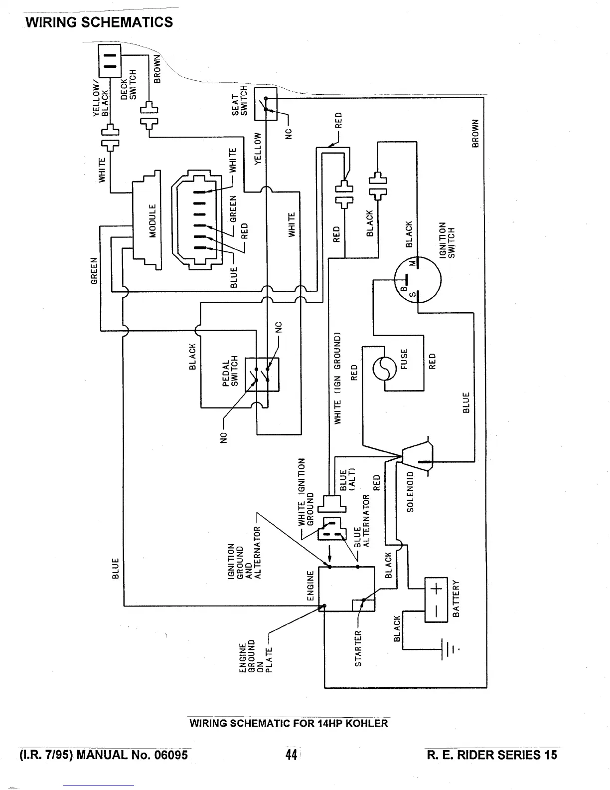
Snapper 250815BE - 14 HP Kohler Wiring Schematic

Snapper 250815BE
46 pages
Print Icon
To Next Page IconTo Next Page
To Next Page IconTo Next Page
To Previous Page IconTo Previous Page
To Previous Page IconTo Previous Page
Loading...

Related product manuals