EasyManua.ls Logo

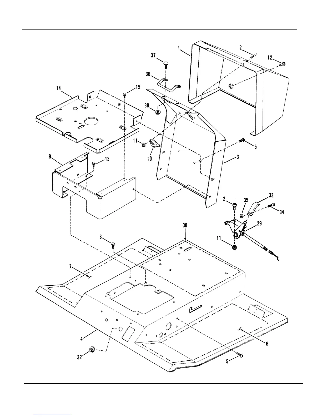
Snapper LT140H331KV - Dash Panel

Snapper LT140H331KV
58 pages
Print Icon
To Next Page IconTo Next Page
To Next Page IconTo Next Page
To Previous Page IconTo Previous Page
To Previous Page IconTo Previous Page
Loading...
Dash Panel
TP 400-5213-2-TC-N
Manual No. 7006427 LAWN TRACTOR MANUAL CLUTCH
SERIES 1
18

Related product manuals