EasyManua.ls Logo

Sony 6L - Page 129

Sony 6L
243 pages
Print Icon
To Next Page IconTo Next Page
To Next Page IconTo Next Page
To Previous Page IconTo Previous Page
To Previous Page IconTo Previous Page
Loading...
9 (GR)
GR
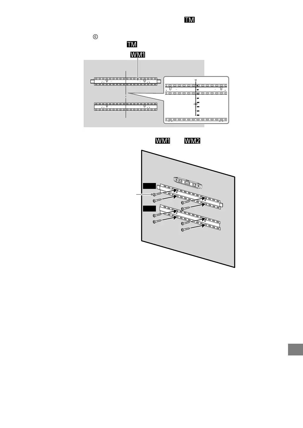
6 Κάντε ένα σηάδι στο χάρτινο υπόδειγα το οποίο θα υποδεικνύει
το κέντρο της οθόνης για την τηλεόρασή σας, ανατρέχοντας στην
προδιαγραφή
στο προηγούενο βήα.
Κλίακα στο χάρτινο υπόδειγα
7 Τοποθετήστε την Επιτοίχια βάση και στον τοίχο.
WM1
WM2
Βίδες (δεν παρέχονται)

Related product manuals