EasyManua.ls Logo

Sony 6L - Page 39

Sony 6L
243 pages
Print Icon
To Next Page IconTo Next Page
To Next Page IconTo Next Page
To Previous Page IconTo Previous Page
To Previous Page IconTo Previous Page
Loading...
9 (DE)
DE
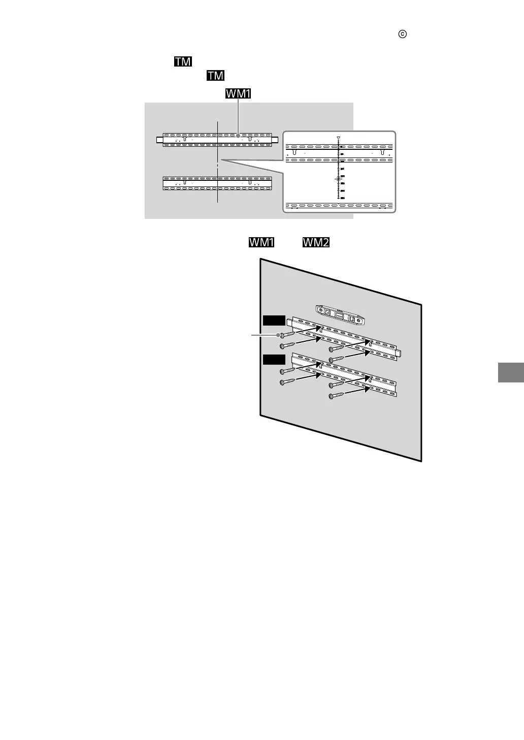
6 Markieren Sie unter Bezugnahme auf die Spezifikationen aus dem
vorherigen Schritt den Bildschirmmittelpunkt des Fernsehgeräts auf der
Papierschablone
.
Skala auf der Papierschablone
7 Montieren Sie Wandhalterung und an der Wand.
WM1
WM2
Schrauben (nicht mitgeliefert)

Related product manuals