EasyManua.ls Logo

Sony BDV-E870 - Front Panel Display Indicators

Sony BDV-E870
92 pages
Print Icon
To Next Page IconTo Next Page
To Next Page IconTo Next Page
To Previous Page IconTo Previous Page
To Previous Page IconTo Previous Page
Loading...
11
US
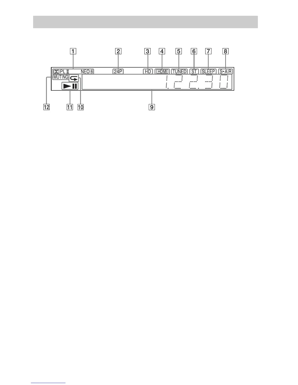
About the indications in the front panel display
A Displays the current sound format.
B Lights up when outputting 1920 ×
1080p/24 Hz video signals.
C Lights up when outputting 720p/1080i/
1080p video signals from the HDMI
OUT jack or 720p/1080i video signals
from the COMPONENT VIDEO OUT
jacks.
D Lights up when the HDMI OUT jack is
correctly connected to an HDCP (High-
bandwidth Digital Content Protection)-
compliant device with HDMI or DVI
(Digital Visual Interface) input.
E Lights up when a station is received.
(Radio only) (page 40)
F Lights up when stereo sound is
received. (Radio only) (page 40)
G Flashes when the sleep timer is set.
(page 52)
H S-AIR indicator (only when the wireless
transmitter (not supplied) is inserted
into the unit)
Lights up during wireless
transmission. Flashes when [Standby]
is set to [On] and the system is in
standby mode while wireless
transmission between the unit and
S-AIR receiver is not activated. (page
42)
I Displays system’s status such as
chapter, title, or track number, time
information, radio frequency, playing
status, surround setting, etc.
J Lights up when repeat play is
activated.
K Displays system’s playing status.
L Lights up when muting is on.
Front panel display

Table of Contents

Other manuals for Sony BDV-E870

Related product manuals