EasyManua.ls Logo

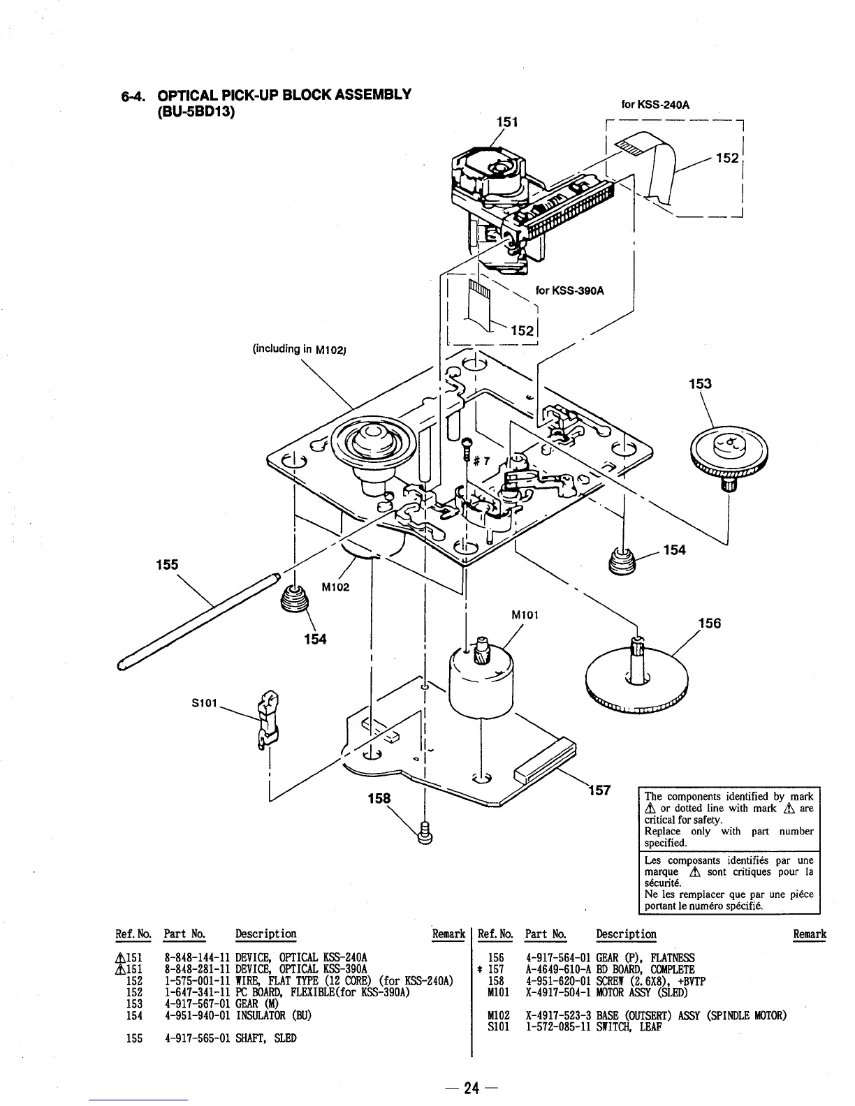
Sony CDP-C235 - 6-4. Optical Pick-up Block Assembly

Sony CDP-C235
23 pages
Print Icon
To Next Page IconTo Next Page
To Next Page IconTo Next Page
To Previous Page IconTo Previous Page
To Previous Page IconTo Previous Page
Loading...

Related product manuals