EasyManua.ls Logo

Sony CDX-CA400 - Safety Warnings; Warning (FCC Compliance)

Sony CDX-CA400
4 pages
Print Icon
To Next Page IconTo Next Page
To Next Page IconTo Next Page
To Previous Page IconTo Previous Page
To Previous Page IconTo Previous Page
Loading...
Précautions
Cet appareil est exclusivement conçu pour
fonctionner sur une tension de 12 V CC avec
masse négative.
Veiller à ne pas coincer de fils entre une vis et
la carrosserie de la voiture ou cet appareil ou
encore entre des pièces mobiles comme les
glissières des sièges, etc.
Avant d’effectuer des raccordements, éteignez
le moteur pour éviter les courts-circuits.
Brancher les fils d’entrée d’alimentation jaune
et rouge seulement après avoir terminé tous
les autres branchements.
Rassembler tous les fils de terre en un point
de masse commun.
Veillez à isoler tout fil ou câble non connectés
avec du ruban électrique approprié.
Remarques sur le cordon d’alimentation
(jaune)
Lorsque cet appareil est raccordé à d’autres
éléments stéréo, la valeur nominale des circuits
de la voiture raccordée doit être supérieure à la
somme des fusibles de chaque élément.
Si aucun circuit de la voiture n’est assez
puissant, raccordez directement l’appareil à la
batterie.
Liste des composants (1)
Les numéros de l’illustration correspondent à
ceux des instructions.
Attention
Manipulez précautionneusement le support 1
pour éviter de vous blesser aux doigts.
TO
P
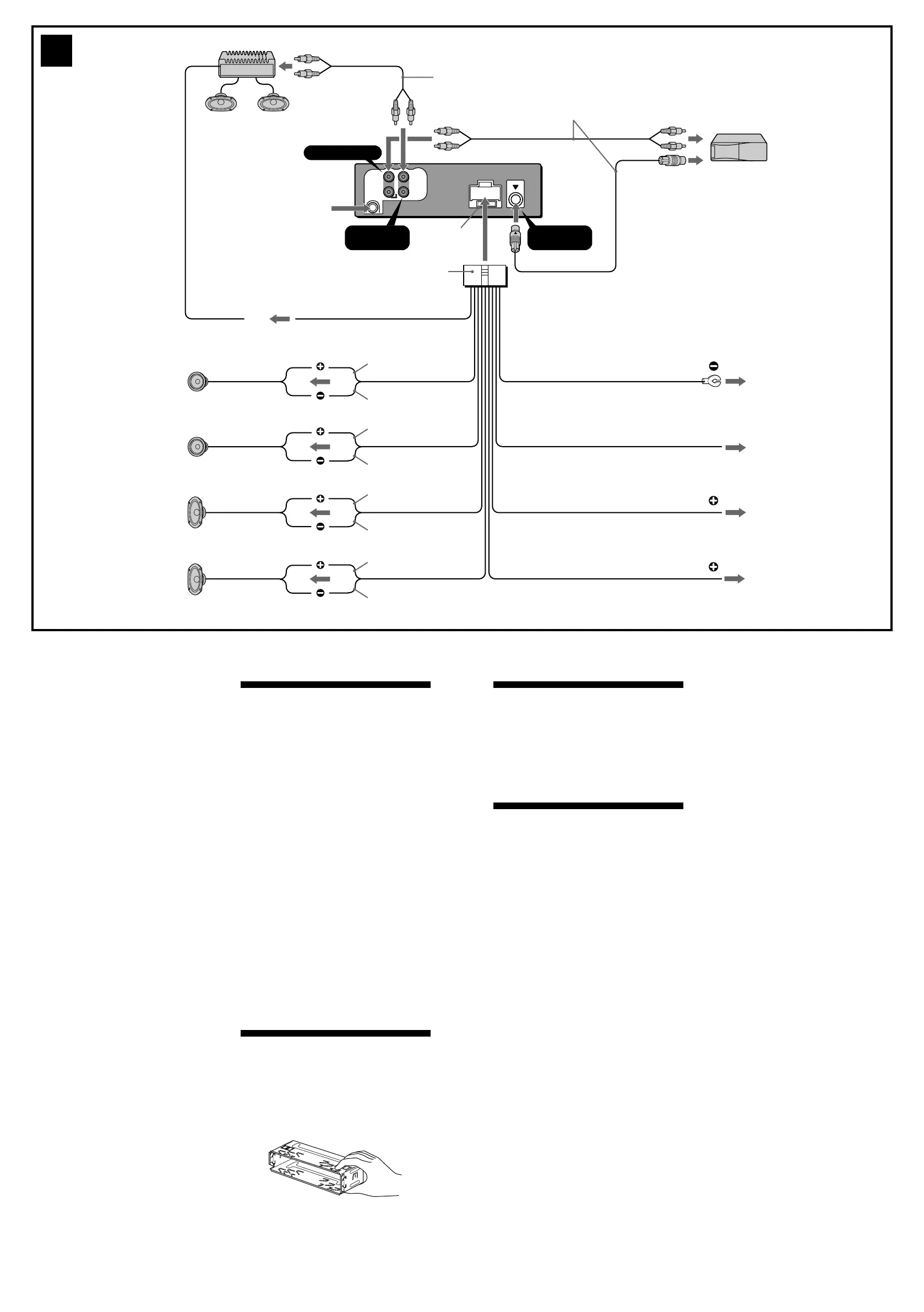
Notes on the control and power supply leads
The power antenna control lead (blue) supplies
+12 V DC when you turn on the tuner.
When your car has built-in FM/AM antenna in the
rear/side glass, connect the power antenna control
lead (blue) or the accessory power input lead (red)
to the power terminal of the existing antenna
booster. For details, consult your dealer.
A power antenna without relay box cannot be
used with this unit.
Memory hold connection
When the yellow power input lead is connected,
power will always be supplied to the memory circuit
even when the ignition key is turned off.
Notes on speaker connection
Before connecting the speakers, turn the unit off.
Use speakers with an impedance of 4 to 8 ohms,
and with adequate power handling capacities to
avoid its damage.
Do not connect the speaker terminals to the car
chassis, or connect the terminals of the right
speakers with those of the left speaker.
Do not connect the ground lead of this unit to the
negative (–) terminal of the speaker.
Do not attempt to connect the speakers in parallel.
Connect only passive speakers. Connecting active
speakers (with built-in amplifiers) to the speaker
terminals may damage the unit.
To avoid a malfunction, do not use the built-in
speaker wires installed in your car if the unit shares
a common negative (–) lead for the right and left
speakers.
Do not connect the unit’s speaker cords to each
other.
Exemple de raccordement (2)
Remarques (2-A)
Raccordez d’abord le fil de masse avant de
connecter l’amplificateur.
Si vous raccordez un amplificateur de puissance en
option et que vous n’utilisez pas l’amplificateur
intégré, le bip sonore est désactivé.
Schéma de raccordement (3)
1 À un point métallique de la voiture
Branchez d‘abord le fil de masse noir et, ensuite,
les fils d‘entrée d‘alimentation jaune et rouge.
2 Vers le fil de commande de l‘antenne électrique
ou le fil d‘alimentation de l‘amplificateur
d‘antenne
Remarque
Il n'est pas nécessaire de raccorder ce fil s'il n'y
a pas d'antenne électrique ni d'amplificateur
d'antenne. Il n’est pas non plus nécessaire de le
raccorder à une antenne télescopique
manuelle.
Si votre voiture est équipée d'une antenne FM/
AM intégrée dans la vitre arrière/latérale, voir
“Remarques sur les fils de commande et
d'alimentation”.
3 Pour effectuer le raccordement à AMP REMOTE
IN de l’amplificateur de puissance en option
Cette connexion s’applique uniquement aux
amplificateurs. Le branchement de tout autre
système risque d’endommager l’appareil.
4 À la borne +12 V qui est alimentée quand la clé
de contact est sur la position accessoires
Remarque
S'il n'y a pas de position accessoires, raccordez
la borne d'alimentation (batterie) +12 V qui
est en permanence sous tension.
Raccordez d‘abord le fil de masse noir.
Si votre voiture est équipée d'une antenne FM/
AM intégrée dans la vitre arrière/latérale, voir
“Remarques sur les fils de commande et
d'alimentation”.
5 À la borne +12 V qui est alimentée en
permanence
Raccordez d‘abord le fil de masse noir.
Remarques sur les fils de commande et
d'alimentation
Le fil de commande de l’antenne électrique (bleu)
fournit une alimentation de + 12 V CC lorsque vous
mettez l’appareil sous tension.
Lorsque votre voiture est équipée d’une antenne
FM/AM intégrée dans la vitre arrière/latérale,
raccordez le fil de commande de l’antenne (bleu)
ou le fil de l’entrée d’alimentation des accessoires
(rouge) à la borne de l’amplificateur d’antenne
existant. Pour plus de détails, consultez votre
détaillant.
Une antenne électrique sans boitier de relais ne
peut pas être utilisée avec cet appareil.
Raccordement pour la conservation de la mémoire
Lorsque le fil d’entrée d’alimentation jaune est
raccordé, le circuit de la mémoire est alimenté en
permanence même si la clé de contact est sur la
position d’arrêt.
Remarques sur le raccordement des haut-parleurs
Avant de raccorder les haut-parleurs, mettez
l’appareil hors tension.
Utilisez des haut-parleurs ayant une impédance de
4 à 8 ohms avec une capacité de manipulation
adéquate pour éviter de les endommager.
Ne raccordez pas les bornes du système de haut-
parleur au châssis de la voiture et ne raccordez pas
les bornes du haut-parleur droit à celles du haut-
parleur gauche.
Ne raccordez pas le câble de masse de cet appareil
à la borne négative (–) du haut-parleur.
N’essayez pas de raccorder les haut-parleurs en
parallèle.
Raccordez uniquement des haut-parleurs passifs.
Le raccordement de haut-parleurs actifs (avec
amplificateurs intégrés) aux bornes des haut-
parleurs peut endommager l’appareil.
Pour éviter tout dysfonctionnement, n’utilisez pas
les fils des haut-parleurs intégrés installés dans
votre voiture si l’appareil partage un fil négatif
commun (–) pour les haut-parleurs droit et gauche.
Ne raccordez pas entre eux les cordons des haut-
parleurs de l’appareil.
3
AUDIO OUT
REAR
BUS
AUDIO
L
R
from car antenna
de l’antenne de la voiture
BUS AUDIO IN
2
5
4
AMP REM
5
Max. supply current 0.3 A
Courant max. fourni 0,3 A
Fuse (10 A)
Fusible (10 A)
Red
Rouge
Yellow
Jaune
Black
Noir
Blue/white striped
Rayé bleu/blanc
White
Blanc
Green
Vert
Purple
Mauve
White/black striped
Rayé blanc/noir
Gray/black striped
Rayé gris/noir
Green/black striped
Rayé vert/noir
Purple/black striped
Rayé blanc/noir
BUS
CONTROL IN
Gray
Gris
AUDIO OUT
REAR
Supplied with the CD/MD changer
Fourni avec le changeur de CD/MD
3
Left
Gauche
Right
Droit
Left
Gauche
Right
Droit
3
RCA pin cord (not supplied)
Cordon à broche RCA (non fourni)
ANT REM
1
Blue
Bleu
Max. supply current 0.1 A
Courant max. fourni 0,1 A

Other manuals for Sony CDX-CA400

Related product manuals