EasyManua.ls Logo

Sony DPS-V55 - Hooking Up and Connections; Connection Examples and Setup Guide

Sony DPS-V55
32 pages
Print Icon
To Next Page IconTo Next Page
To Next Page IconTo Next Page
To Previous Page IconTo Previous Page
To Previous Page IconTo Previous Page
Loading...
– 9 –
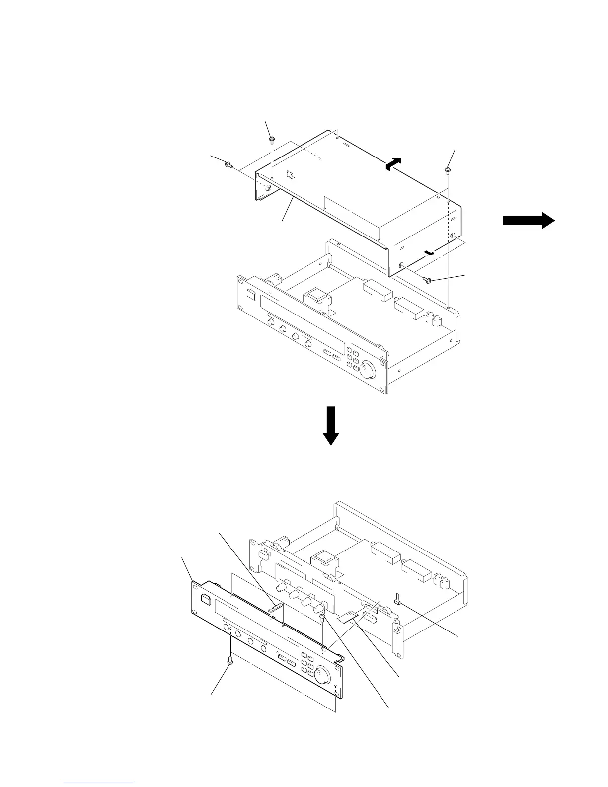
CASE
FRONT PANEL ASS’Y
SECTION 3
DISASSEMBLY
2
two screws
(case 3 TP2)
1
three screws
(case 3 TP2)
3
case
1
two screws
(case 3 TP2)
2
two screws
(case 3 TP2)
5
front panel ass’y
4
clamp
1
flat wire (23 core)
(CN702)
3
four screws
(BVTT3
×
6)
1
connecto
r
(CN703)
2
three screws
(BVTT3
×
6)
Note: Follow the disassembly procedure in the numerical order given.

Other manuals for Sony DPS-V55

Related product manuals