EasyManua.ls Logo

Sony DSC-W520 - Identificación de las partes

Sony DSC-W520
72 pages
Print Icon
To Next Page IconTo Next Page
To Next Page IconTo Next Page
To Previous Page IconTo Previous Page
To Previous Page IconTo Previous Page
Loading...
ES
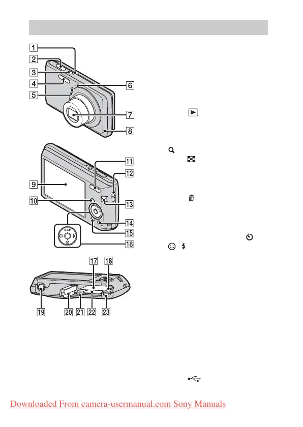
6
A Indicador luminoso ON/OFF
(Alimentación)
B Botón del disparador
C Botón ON/OFF (Alimentación)
D Flash
E Micrófono
F Indicador luminoso del
autodisparador/Indicador
luminoso del captador de
sonrisas
G Objetivo
H Altavoz
I Pantalla LCD
J Botón (Reproducción)
K Para tomar imágenes: botón W/T
(Zoom)
Para visualizar imágenes: botón
(Zoom de reproducción)/
botón (Índice)
L Gancho de la correa para la
muñeca
M Interruptor de modo
N Botón (Borrar)
O Botón MENU
P Botón de control
Menú activado: v/V/b/B/z
Menú desactivado: DISP/ /
/
Q Ranura de inserción de la batería
R Palanca de expulsión de la
batería
S Rosca para trípode
Utilice un trípode con un tornillo
de longitud inferior a 5,5 mm De
lo contrario, no podrá fijar la
cámara con seguridad y podría
dañarla.
T Tapa de la batería y la tarjeta de
memoria
U Indicador luminoso de acceso
V Ranura para tarjeta de memoria
W Toma (USB) / A/V OUT
Identificación de las partes
Downloaded From camera-usermanual.com Sony Manuals

Table of Contents

Related product manuals