EasyManua.ls Logo

Sony DSX-A212UI - Default Chapter; Guía de Elementos y Controles

Sony DSX-A212UI
160 pages
Print Icon
To Next Page IconTo Next Page
To Next Page IconTo Next Page
To Previous Page IconTo Previous Page
To Previous Page IconTo Previous Page
Loading...
5
ES
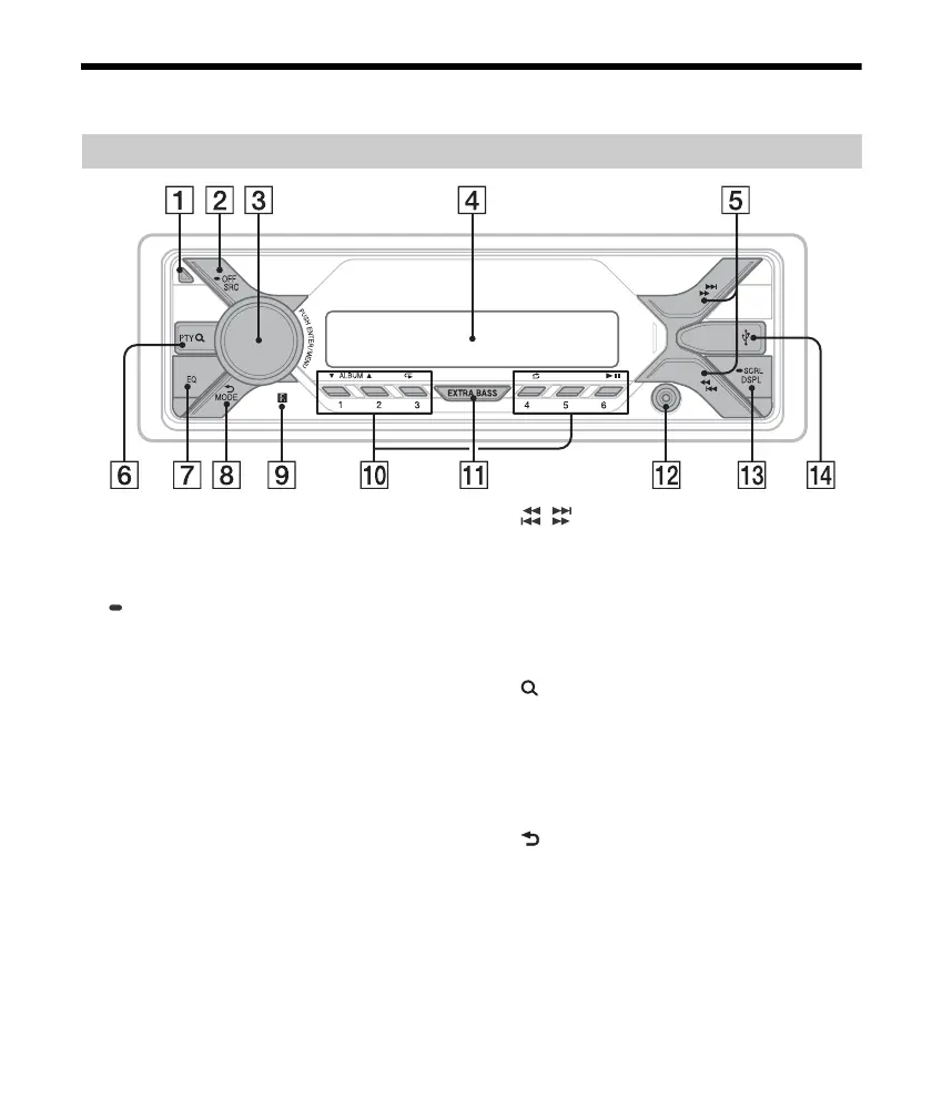
Guía de elementos y controles
Botón de desbloqueo del panel frontal
SRC (fuente)
Encienda la unidad.
Cambie de fuente.
OFF
Mantenga el botón pulsado durante 1 segundo
para desactivar la fuente y mostrar el reloj.
Mantenga el botón pulsado durante más de
2 segundos para apagar la unidad y la pantalla.
Dial de control
Gire el dial para ajustar el volumen.
PUSH ENTER
Acceda a la opción seleccionada.
Pulse SRC, gírelo y púlselo para cambiar de
fuente (en un máximo de 2 segundos).
MENU
Abra el menú de configuración.
Visor
/ (SEEK/+)
Sintonice emisoras de radio de forma
automática. Manténgalo pulsado para
sintonizarlas de forma manual.
/ (anterior/siguiente)
/ (retroceso/avance rápido)
PTY (tipo de programa)
Seleccione PTY en RDS.
(buscar) (página 11)
Acceda al modo de búsqueda durante la
reproducción.
(No disponible si hay conectado un dispositivo
USB en modo Android™ o un iPod.)
EQ (ecualizador)
Seleccione una curva de ecualizador.
(atrás)
Vuelva a la pantalla anterior.
MODE (página 8)
Receptor del mando a distancia
Unidad principal

Table of Contents

Related product manuals