EasyManua.ls Logo

Sony DSX-A212UI - Default Chapter; Guida alle Parti E Ai Comandi

Sony DSX-A212UI
160 pages
Print Icon
To Next Page IconTo Next Page
To Next Page IconTo Next Page
To Previous Page IconTo Previous Page
To Previous Page IconTo Previous Page
Loading...
5
IT
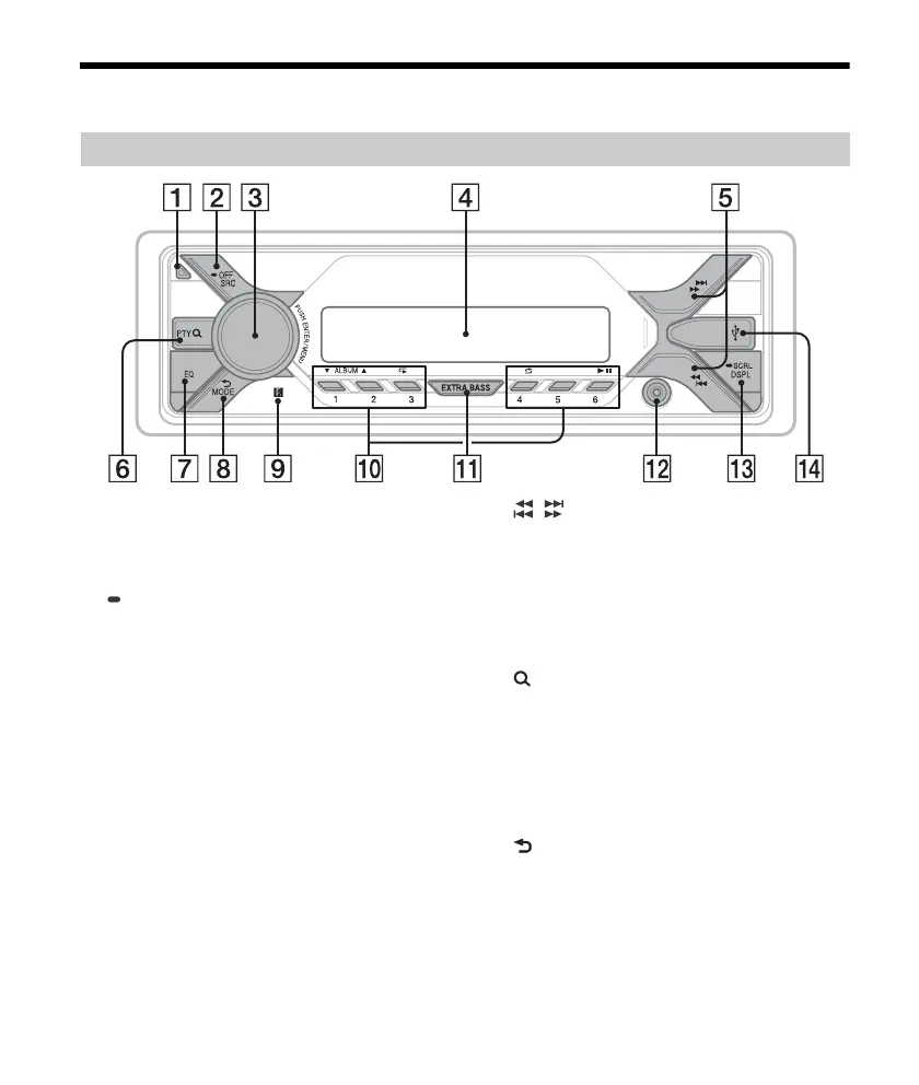
Guida alle parti e ai comandi
Tasto rilascio pannello anteriore
SRC (sorgente)
Per accendere l’apparecchio.
Per cambiare la sorgente.
OFF
Tenere premuto per 1 secondo per disattivare la
sorgente e visualizzare l’orologio.
Tenere premuto per più di 2 secondi per
spegnere l’apparecchio e disattivare il display.
Manopola di controllo
Ruotare per regolare il volume.
PUSH ENTER
Per impostare la voce selezionata.
Premere SRC, ruotare e quindi premere per
cambiare la sorgente (timeout dopo 2 secondi).
MENU
Per aprire il menu di impostazione.
Finestra del display
/ (SEEK/+)
Per sintonizzare automaticamente le stazioni
radio. Tenere premuto per sintonizzarle
manualmente.
/ (prec/succ)
/ (indietro/avanti rapido)
PTY (tipo di programma)
Per selezionare PTY in RDS.
(sfoglia) (pagina 12)
Per impostare il modo sfoglia durante la
riproduzione.
(Non disponibile quando è collegato un
dispositivo USB in modalità Android™ o un
iPod.)
EQ (equalizzatore)
Per selezionare una curva dell’equalizzatore.
(indietro)
Per tornare al display precedente.
MODE (pagina 9)
Ricettore del telecomando
Unità principale

Table of Contents

Related product manuals