EasyManua.ls Logo

Sony DSX-A212UI - Page 27

Sony DSX-A212UI
160 pages
Print Icon
To Next Page IconTo Next Page
To Next Page IconTo Next Page
To Previous Page IconTo Previous Page
To Previous Page IconTo Previous Page
Loading...
5
DE
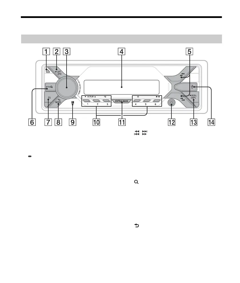
Lage und Funktion der Teile und Bedienelemente
Taste zum Lösen der Frontplatte
SRC (Tonquelle)
Einschalten des Geräts.
Wechseln der Tonquelle.
OFF
Wenn Sie die Taste 1 Sekunde lang gedrückt
halten, wird die Tonquelle ausgeschaltet und
die Uhrzeit angezeigt.
Wenn Sie die Taste mehr als 2 Sekunden lang
gedrückt halten, schalten sich das Gerät und
das Display aus.
Steuerregler
Drehen Sie den Regler, um die Lautstärke
einzustellen.
PUSH ENTER
Bestätigen der ausgewählten Option.
Drücken Sie SRC, drehen Sie den Regler und
drücken Sie dann darauf, um die Tonquelle zu
wechseln (Zeitüberschreitung nach 2
Sekunden).
MENU
Aufrufen des Setup-Menüs.
Display
/ (SEEK/+)
Automatisches Einstellen von Radiosendern.
Zum manuellen Einstellen halten Sie diese Taste
gedrückt.
/ (Zurück/Weiter)
/ (Schnelles Rückwärts-/
Vorrtssuchen)
PTY (Programmtyp)
Auswählen von PTY bei einem RDS-Sender.
(Suchen) (Seite 12)
Wechseln in den Suchmodus während der
Wiedergabe.
(Nicht verfügbar, wenn ein USB-Gerät im
Android™-Modus oder ein iPod angeschlossen
ist.)
EQ (Equalizer)
Auswählen einer Equalizer-Kurve.
(Zurück)
Zurückschalten zur vorherigen Anzeige.
MODE (Seite 9)
Empfänger für die Fernbedienung
Hauptgerät

Table of Contents

Related product manuals