EasyManua.ls Logo

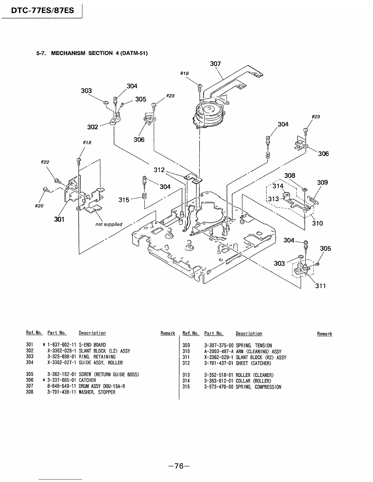
Sony DTC-77ES - Mechanism Section 4 Exploded View

Sony DTC-77ES
62 pages
Print Icon
To Next Page IconTo Next Page
To Next Page IconTo Next Page
To Previous Page IconTo Previous Page
To Previous Page IconTo Previous Page
Loading...

Table of Contents