EasyManua.ls Logo

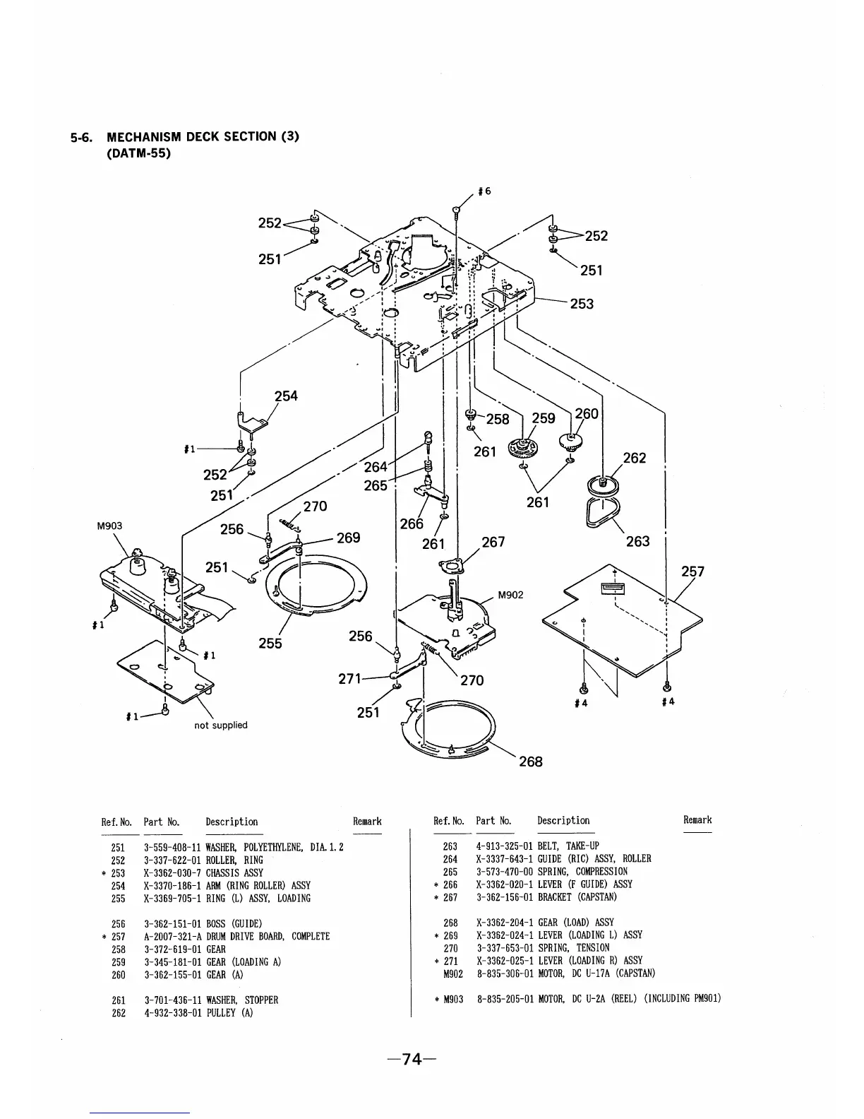
Sony DTC-A8 - 5-6. Mechanism Deck Section (3)

Sony DTC-A8
60 pages
Print Icon
To Next Page IconTo Next Page
To Next Page IconTo Next Page
To Previous Page IconTo Previous Page
To Previous Page IconTo Previous Page
Loading...

Other manuals for Sony DTC-A8

Related product manuals