EasyManua.ls Logo

Sony DVP-LS500 - Page 45

Sony DVP-LS500
76 pages
Print Icon
To Next Page IconTo Next Page
To Next Page IconTo Next Page
To Previous Page IconTo Previous Page
To Previous Page IconTo Previous Page
Loading...
45
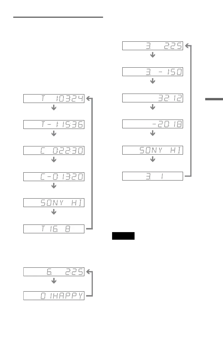
Viewing Information About the Disc
Checking the information on the
front panel display
You can view the time information and text
displayed on the TV screen also on the front
panel display. The information on the front
panel display changes as follows when you
change the time information on your TV
screen.
When playing a DVD VIDEO or DVD-RW
When playing a DATA CD (MP3 audio)
When playing a VIDEO CD (without PBC
functions) or CD
z Hints
When playing VIDEO CDs with PBC functions, the
scene number or the playing time are displayed.
Long text that does not fit in a single line will
scroll across the front panel display.
You can also check the time information and text
using the Control Menu (page 12).
Notes
Depending on the type of disc being played, the
DVD/CD text or track name may not be
displayed.
The player can only display the first level of the
DVD/CD text, such as the disc name or title.
Playing time of MP3 audio tracks may not be
displayed correctly.
Playing time of the current title
Remaining time of the current title
Playing time of the current chapter
Remaining time of the current
chapter
Text
Current title and chapter number
(returns to top automatically)
Playing time and number of the
current track
Track name
Playing time and number of the
current track
Remaining time of the current
track
Remaining time of the disc
Text
Playing time of the disc
Current track and index number
(returns to top automatically)

Table of Contents

Other manuals for Sony DVP-LS500

Related product manuals