EasyManua.ls Logo

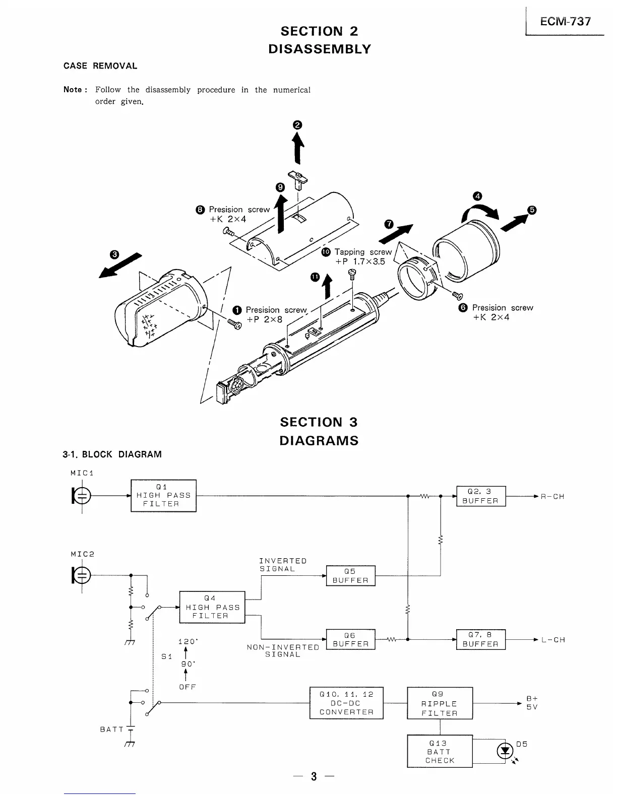
Sony ECM-737 - Disassembly; Diagrams; Case Removal; Block Diagram

Sony ECM-737
10 pages
Print Icon
To Next Page IconTo Next Page
To Next Page IconTo Next Page
To Previous Page IconTo Previous Page
To Previous Page IconTo Previous Page
Loading...

Related product manuals