EasyManua.ls Logo

Sony HCD-H66 - 7-4. Mechanism Deck Section (1) Exploded View

Sony HCD-H66
71 pages
Print Icon
To Next Page IconTo Next Page
To Next Page IconTo Next Page
To Previous Page IconTo Previous Page
To Previous Page IconTo Previous Page
Loading...
HCD-H66/H70/H77/H1200/H1400
|
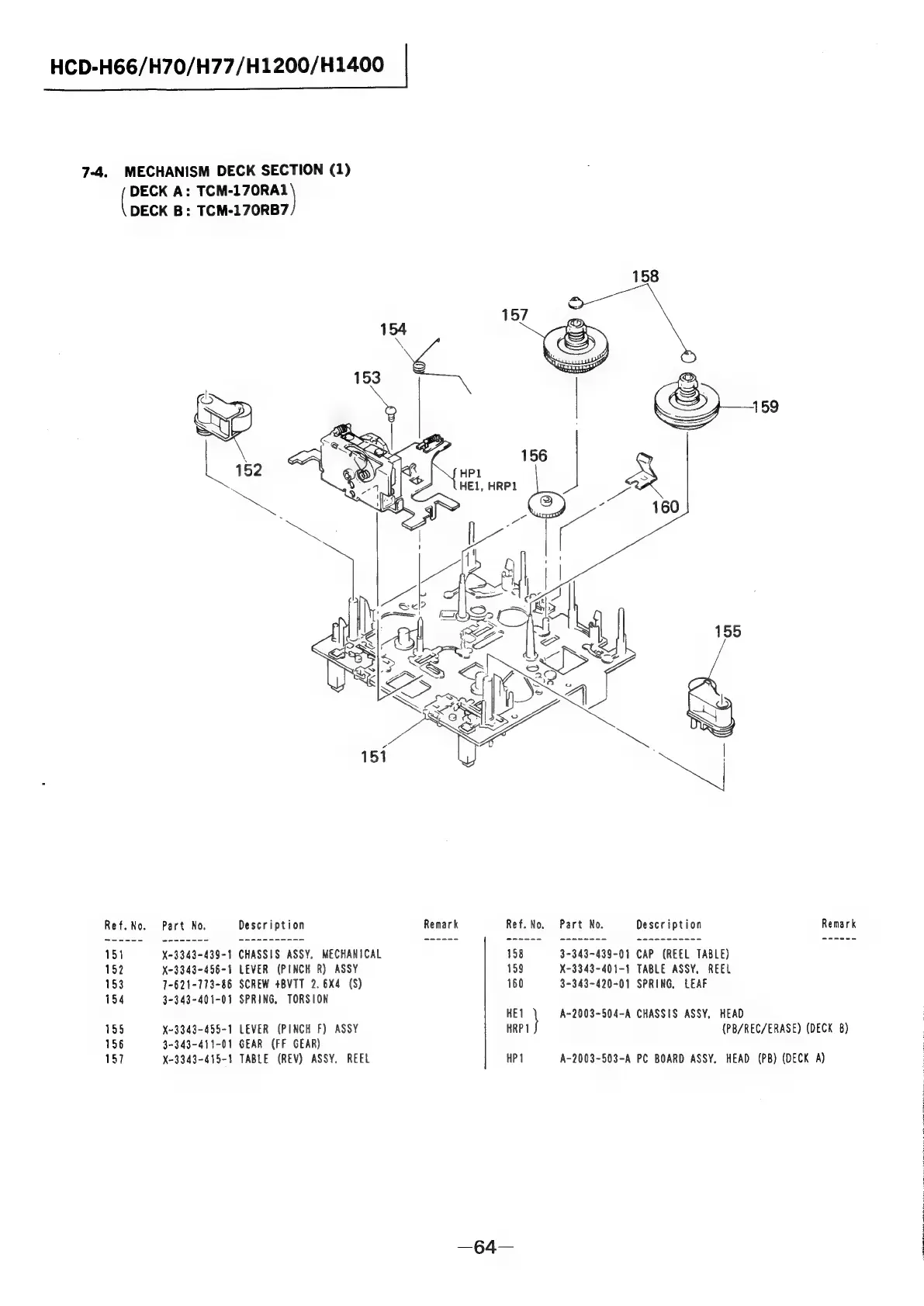
7-4.
MECHANISM
DECK
SECTION
(1)
ieee
A:
a)
DECK
B:
TCM-170RB7
151
Remark
Part
No.
Description
X-3343-439-1
CHASSIS
ASSY,
MECHANICAL
X-3343-456-1
LEVER
(PINCH
R)
ASSY
7-621-773-86
SCREW
+BVTT
2.
6X4
(S)
3-343-401-01
SPRING,
TORSION
X-3343-455-1
LEVER
(PINCH
F)
ASSY
3-343-411-01
GEAR
(FF
GEAR)
X-3343-415-1
TABLE
(REV)
ASSY,
REEL
158
Part
No.
Remark
Description
3-343-439-01
CAP
(REEL
TABLE)
X-3343-401-1
TABLE
ASSY,
REEL
3-343-420-01
SPRING.
LEAF
A-2003-504-A
CHASSIS
ASSY,
HEAD
(PB/REC/ERASE)
(DECK
8)
A-2003-503-A
PC
BOARD
ASSY,
HEAD
(PB)
(DECK
A)

Related product manuals