EasyManua.ls Logo

Sony HCD-H66 - 7-7. CD Section (2) Exploded View

Sony HCD-H66
71 pages
Print Icon
To Next Page IconTo Next Page
To Next Page IconTo Next Page
To Previous Page IconTo Previous Page
To Previous Page IconTo Previous Page
Loading...
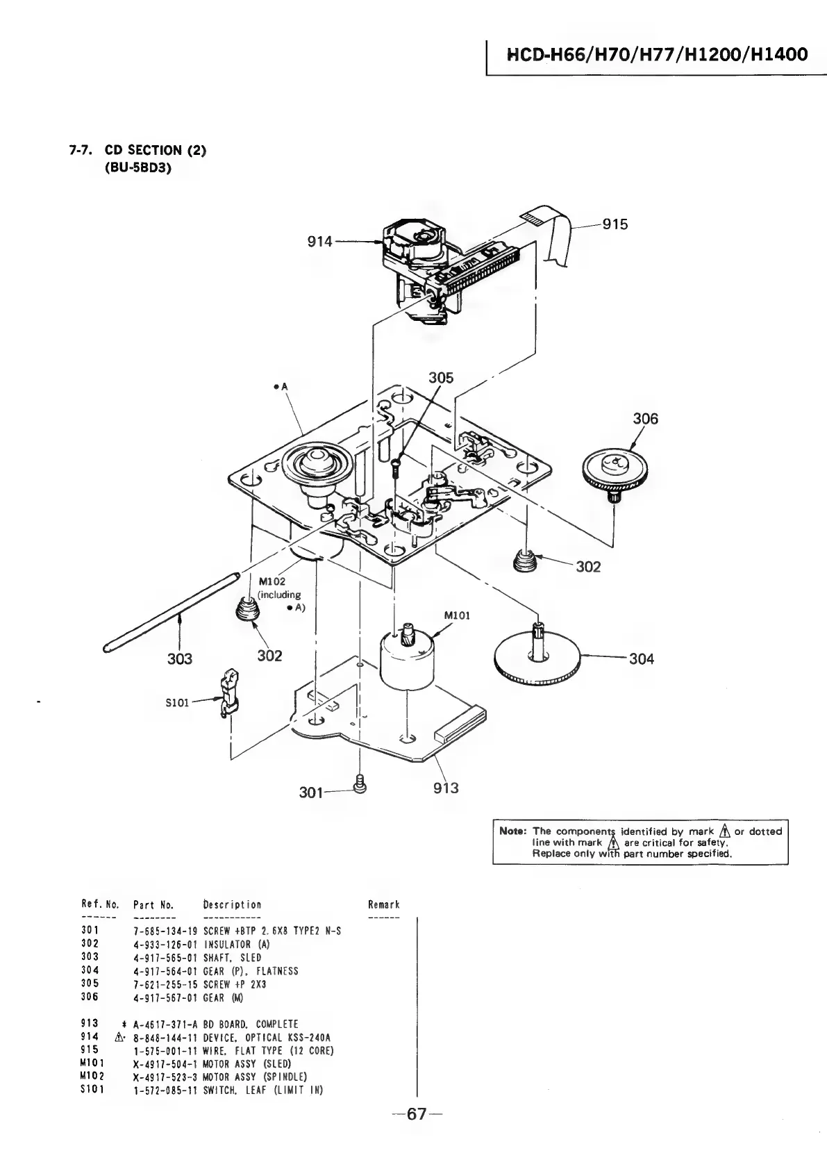
7-7.
CD
SECTION
(2)
(BU-5BD3)
303
$101
Ref.No.
Part
No.
301
7-685-134-19
$02
4-933-126-01
303
4-917-565-01
304
4-917-564-01
305
7-621-255-15
306
4-917-567-01
913
#
A-4617-371-A
914
Ay
B-848-144-11
915
1-575-001-11
M101
X-4917-504-1
M102
X-4917-523-3
$101
1-572-085-11
Pile
M102
(including
@A)
Description
SCREW
+BTP
2.
6X8
TYPE2
N-S
INSULATOR
(A)
SHAFT,
SLED
GEAR
(P),
FLATNESS
SCREW
+P
2X3
GEAR
(M)
BD
BOARD,
COMPLETE
DEVICE,
OPTICAL
KSS-240A
WIRE,
FLAT
TYPE
(12
CORE)
MOTOR
ASSY
(SLED)
MOTOR
ASSY
(SPINDLE)
SWITCH,
LEAF
(LIMIT
IN)
|
HCD-H66/H70/H77/H1200/H1400
304
913
line
with
mark
are
critical
for
safety.
Replace
only
with
part
number
specified.
Note:
The
nth
mark
fare
eri
by
mark
A
or
dotted
Remark

Related product manuals