EasyManua.ls Logo

Sony HCD-M60D - Optical Block Diagnosis Flow (Part 1); Optical Pickup Movement Check; Spindle Motor and Focus Search Check

Sony HCD-M60D
32 pages
Print Icon
To Next Page IconTo Next Page
To Next Page IconTo Next Page
To Previous Page IconTo Previous Page
To Previous Page IconTo Previous Page
Loading...
HCD-M40D/M60D/M80D
27
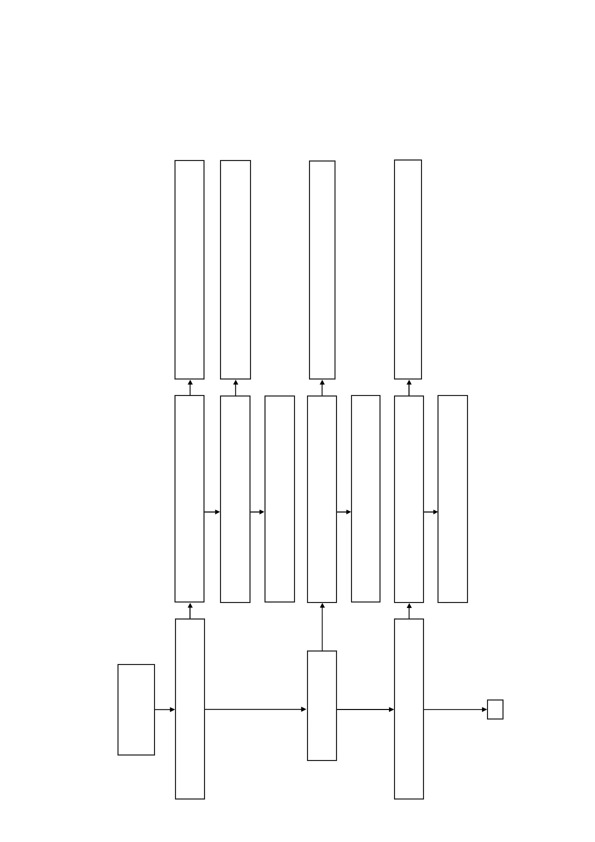
Optical Block Diagnosis Flow (1/2)
Does Optical pickup move to inner circumference?
(Visual check)
Yes
Yes
No
Checks JL355 for +3.3V and CL308 for +1.2V REG IC303.
Does it output the power voltage of 3.3V and 1.2V?
Checks CN402 SL+/SL- signal.
Does it output the signal?
Does Spindle motor rotate?
(Visual check)
Yes
Does Optical pickup do focus search?
(Visual check)
No
Checks IC303 circumference circuit for +1.2V.
Checks IC009 (JL071) circumference circuit for +3.3V.
Yes
A
No
No
No
No
No
Checks circumference circuit for SL+/SL- of IC401.
Checks circumference circuit of IC301 FMO Signal.
REMOVE COVER, TOP
TURN ON
TRAY IN
The Sled motor has a problem.
Replaces BU.
Checks CN402 SP+/SP- signal.
Does it output the signal?
The Spindle motor has a problem.
Replaces BU.
Checks circumference circuit for SP+/SP of IC401.
Checks circumference circuit of IC301 DMO Signal.
Checks CN302 FCS+/FCS- signal.
Does it output the signal?
The Optical pickup has a problem.
Replaces BU.
Checks circumference circuit for FCS+/FCS- of IC401.
Checks circumference circuit of IC301 FOO Signal.
Yes
Yes
Yes

Related product manuals