EasyManua.ls Logo

Sony SL-5000 - Tuner IF Block Diagram

Sony SL-5000
81 pages
Print Icon
To Next Page IconTo Next Page
To Next Page IconTo Next Page
To Previous Page IconTo Previous Page
To Previous Page IconTo Previous Page
Loading...
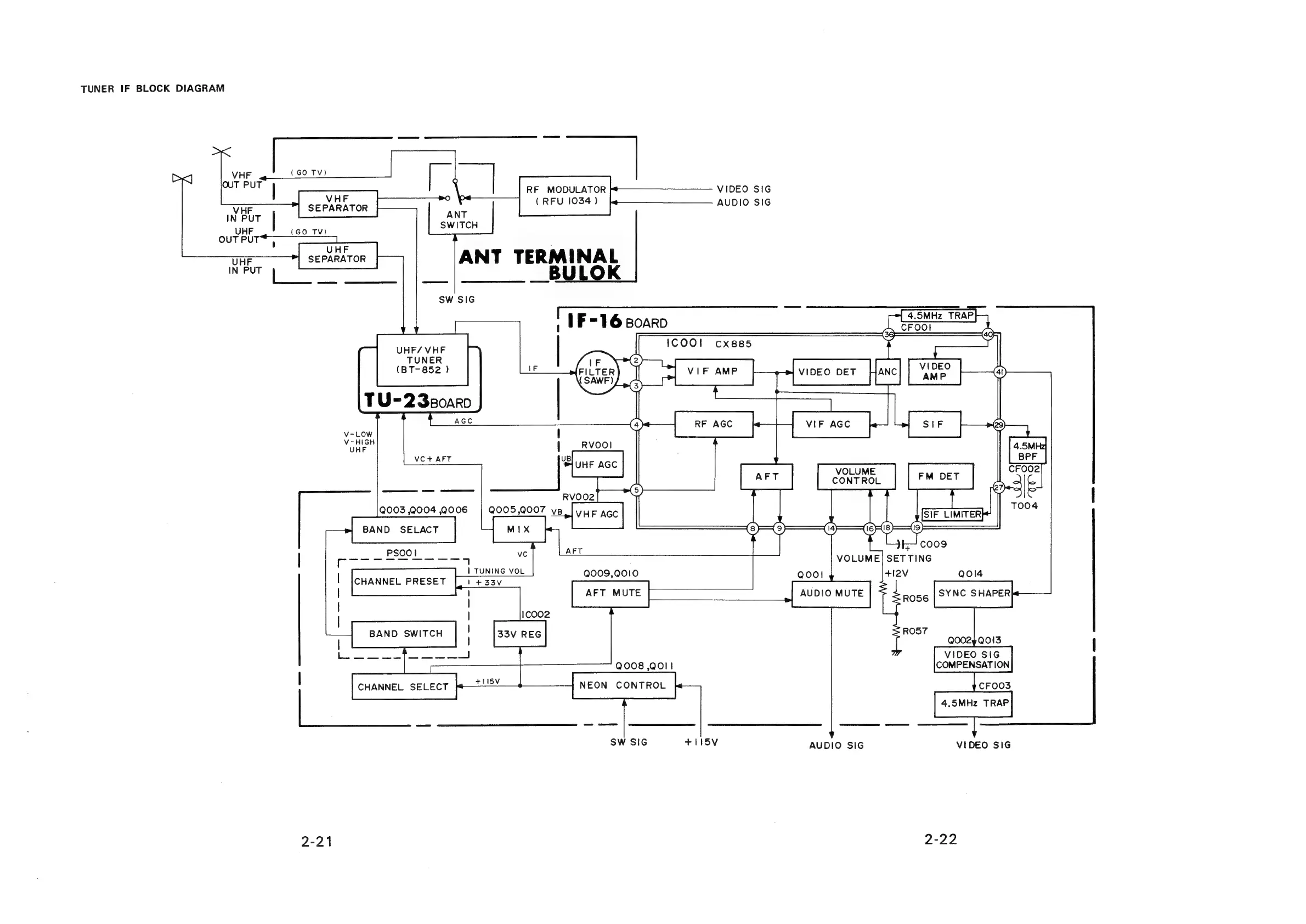
TUNER
IF
BLOCK
DIAGRAM
<I
VHF
|
(GO
TV)
BS
|
eee
|
VHF
7
RF
MODULATOR
VIDEO
SIG
Tae
(RFU
1034)
AUDIO
SIG
IN
PUT
|
ANT
outputs
so
4
~—
}
UHF
TE
ANT
TERMINAL
SW
SIG
,
1F=16B0aRD
UHF/
VHF
TUNER
(BT-852
)
TU=23s80arD
V-LOW
V-HIGH
UHF
VC
+
AFT
ne
ey
ee
cor
Je
_tusv_
ee
CHANNEL
SELECT
NEON
CONTROL
SW
SIG
+115V
2-21
|
94)
|
ICOO!
cxsss
:
e
(ie
@)
ee
ce
1
=
<1
c009
VOLUME|
SETTING
+12V
Qol4
AUDIO
MUTE
RO56
SYNC
SHAPER
ROS7
Q002y
9013
VIDEO
SIG
COMPENSATION
CFOO3
4.5MHz
TRAP
AUDIO
SIG
VIDEO
SIG
2-22
4.5MHz
BPF
CFOO2
TOO4

Related product manuals