EasyManua.ls Logo

Sony SS-TS8 - SS-TS8 Stand Section Exploded View

Sony SS-TS8
16 pages
Print Icon
To Next Page IconTo Next Page
To Next Page IconTo Next Page
To Previous Page IconTo Previous Page
To Previous Page IconTo Previous Page
Loading...
9
SA-SC8/WS8/SS-CT8/TS8
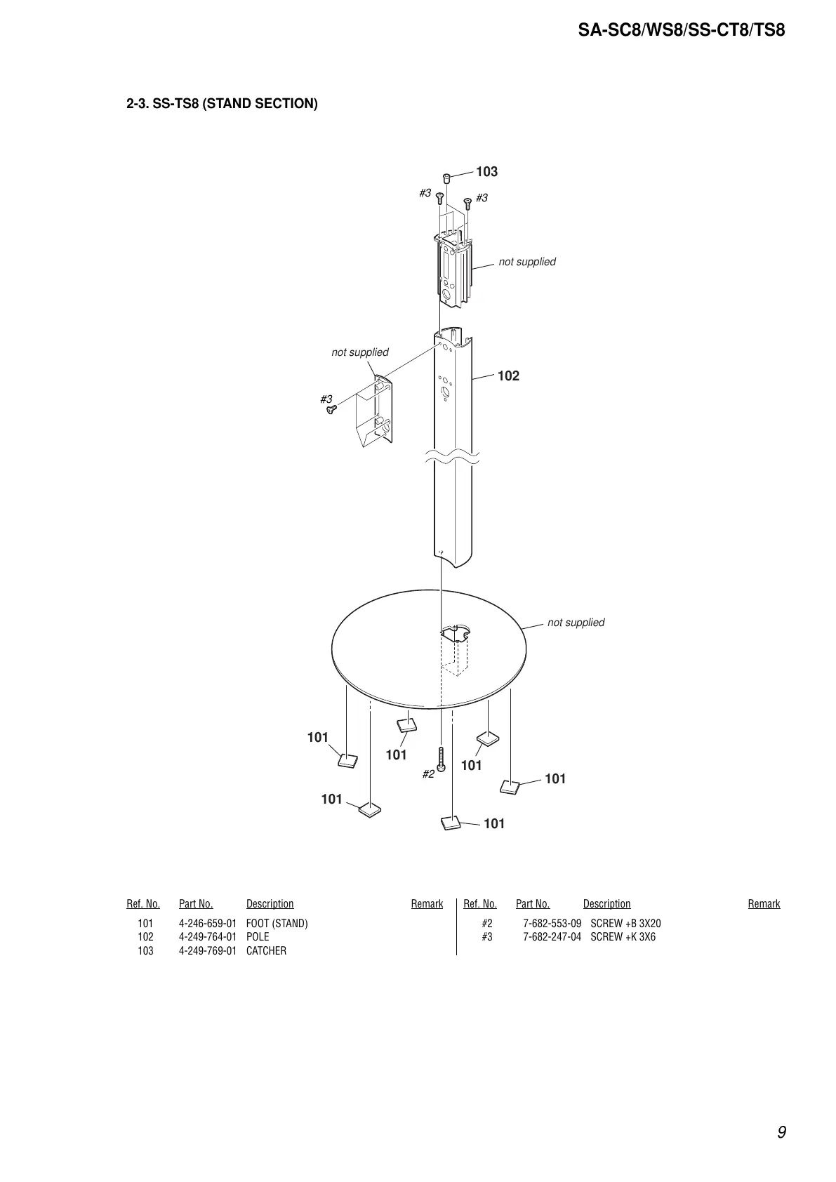
2-3. SS-TS8 (STAND SECTION)
Ref. No. Part No. Description Remark Ref. No. Part No. Description Remark
101 4-246-659-01 FOOT (STAND)
102 4-249-764-01 POLE
103 4-249-769-01 CATCHER
#2 7-682-553-09 SCREW +B 3X20
#3 7-682-247-04 SCREW +K 3X6
#3
#3
#3
103
102
not supplied
not supplied
not supplie
d
101
101
101
101
101
#2
101
All manuals and user guides at all-guides.com

Related product manuals