EasyManua.ls Logo

Sony STR-313L - CIRCUIT DESCRIPTION; Program Sensor Circuit; Transistor Circuits (Q202 and 401)

Sony STR-313L
20 pages
Print Icon
To Next Page IconTo Next Page
To Next Page IconTo Next Page
To Previous Page IconTo Previous Page
To Previous Page IconTo Previous Page
Loading...
1-2.
CIRCUIT
DESCRIPTION
(See
Fig.
1)
Program
Sensor
When
the
band
selector
switch
(S1)
and
FUNC-
TION
switch
(S2)
are
set
to
PROGRAM
position
and
band
selector
position
respectively
and
the
pointer
matches
with
a
station
marker,
FM
or
LW
station
is
automatically
selected
through
optical
detection.
(Fig.
2)
1)
When
the
pointer
matches
only
with
the
.FM
station
marker:
a)
The
light
of
IC401
(Photo
Interrupter)
is
inter-
cepted
by
the
marker,
bias
voltage
is
applied
to
the
base
of
Q402
through
R405,
and
Q402
is
turned
on.
b)
The
collecter
voltage
of
Q402
reduces
and
D401
is
turned
on.
c)
The
terminal
@3)
of
IC201
is
grounded
through
D201, R204,
D401,
Q402
and
D403.
d)
FM
circuit
operates
(The
terminal
Q3)
of
IC201
serves
as
a
switch).
Note:
When
B
+
voltage
is
applied
to
the
terminal
Q3)
of
IC201
through
R401,
R204
and
D201,
the
receiver
is
in
AM
mode.
At
the
same
time,
as
Q403
is
on,
PL401
(FM
indicator
lamp)
lights.
2)
When
the
pointer
matches
only
with
the
LW
station
marker:
a)
As
the
light
of
IC401
is
not
intercepted,
Q402
and
D401
are
turned
off.
As
a
result,
B
+
voltage
is
applied
to
the
terminal
Q3)
of
IC201
through
R401
and
R204.
On
the
other
hand,
the
light
of
IC402
is
intercepted
by
the
LW
station
marker,
b)
Q404
and
Q405
are
turned
on.
c)
B
+
voltage
is
applied
to
L306
(LW
oscillator
coil).
d)
LW
circuit
operates.
When
Q405
is
on,
PL402
(LW
indicator
lamp)
simultaneously
lights.
(C201
TERMINAL
(23)
020!
R204
R40)
L306
(Lw
osc)“
STR-313L
3)
When
the
pointer
matches
simultaneously
with
both
the
FM
and
LW
station
markers:
a)
Q402
and
Q403
are
turned
on
by
intercepting
the
light
of
IC401.
On
the
other
hand,
the
light
of
IC402
is
also
intercepted
and
the
bias
voltage
is
applied
to
the
base
of
Q404,
but
because
the
collector
voltage
of
Q403
is
high,
D404
is
turned
off.
The
emitter
voltage
of
Q404
rises
-
and
B
+
voltage
is
not
applied
to
L306
(LW
oscillator
coil)
and
PL402.
Consequently,
only
the
FM
station
signal
is
received.
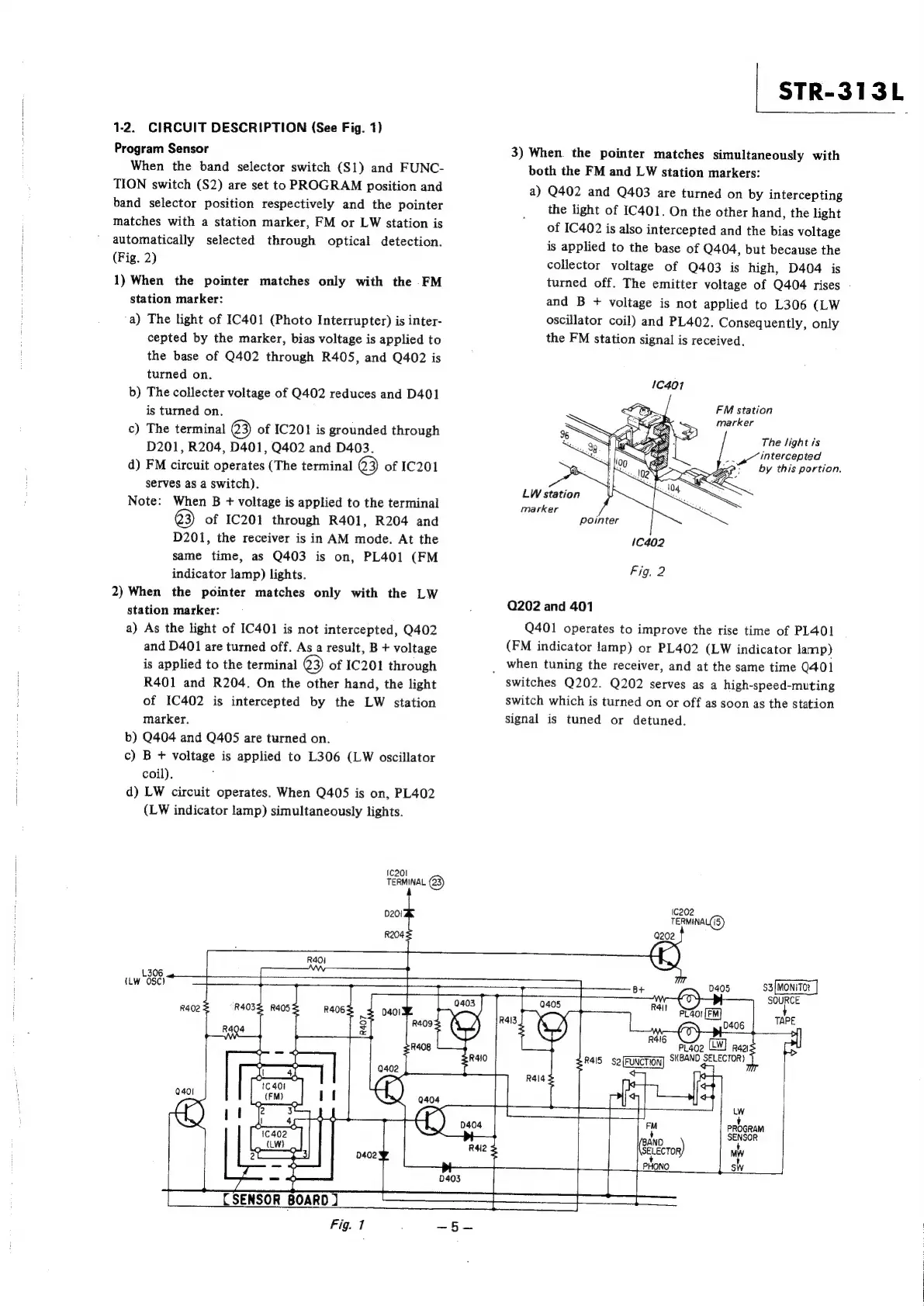
10401
FM
station
marker
The
light
is
3
ain
tercepted
sp:
by
this
portion.
LW
station
marker
pointer
'C€402
Fig.
2
Q202
and
401
Q401
operates
to
improve
the
rise
time
of
P1401
(FM
indicator
lamp)
or
PL402
(LW
indicator
lamp)
when
tuning
the
receiver,
and
at
the
same
time
Q401
switches
Q202.
Q202
serves
as
a
high-speed-muting
switch
which
is
turned
on
or
off
as
soon
as
the
station
signal
is
tuned
or
detuned.
(C202
TERMINAL(IS)
Q202
i)
Rac2=
——-
R403
(SENSOR
BOARD
J
Fig.
7
es
ee
eee
SOURCE
a,
a
PL401
{FM}
Fey
0406
RANG
PLaoe
LW]
paar
sl
Zrais
so(RUNCTIR]
S"BANO
SELECTOR}
TAPE
Lw
;
PROGRAM
@
AND
=
SOR
SELECTOR,
MW
PHONO
sly

Related product manuals