EasyManua.ls Logo

Sony SU-WL855 - Page 40

Sony SU-WL855
70 pages
Print Icon
To Next Page IconTo Next Page
To Next Page IconTo Next Page
To Previous Page IconTo Previous Page
To Previous Page IconTo Previous Page
Loading...
− 22 (EN) −
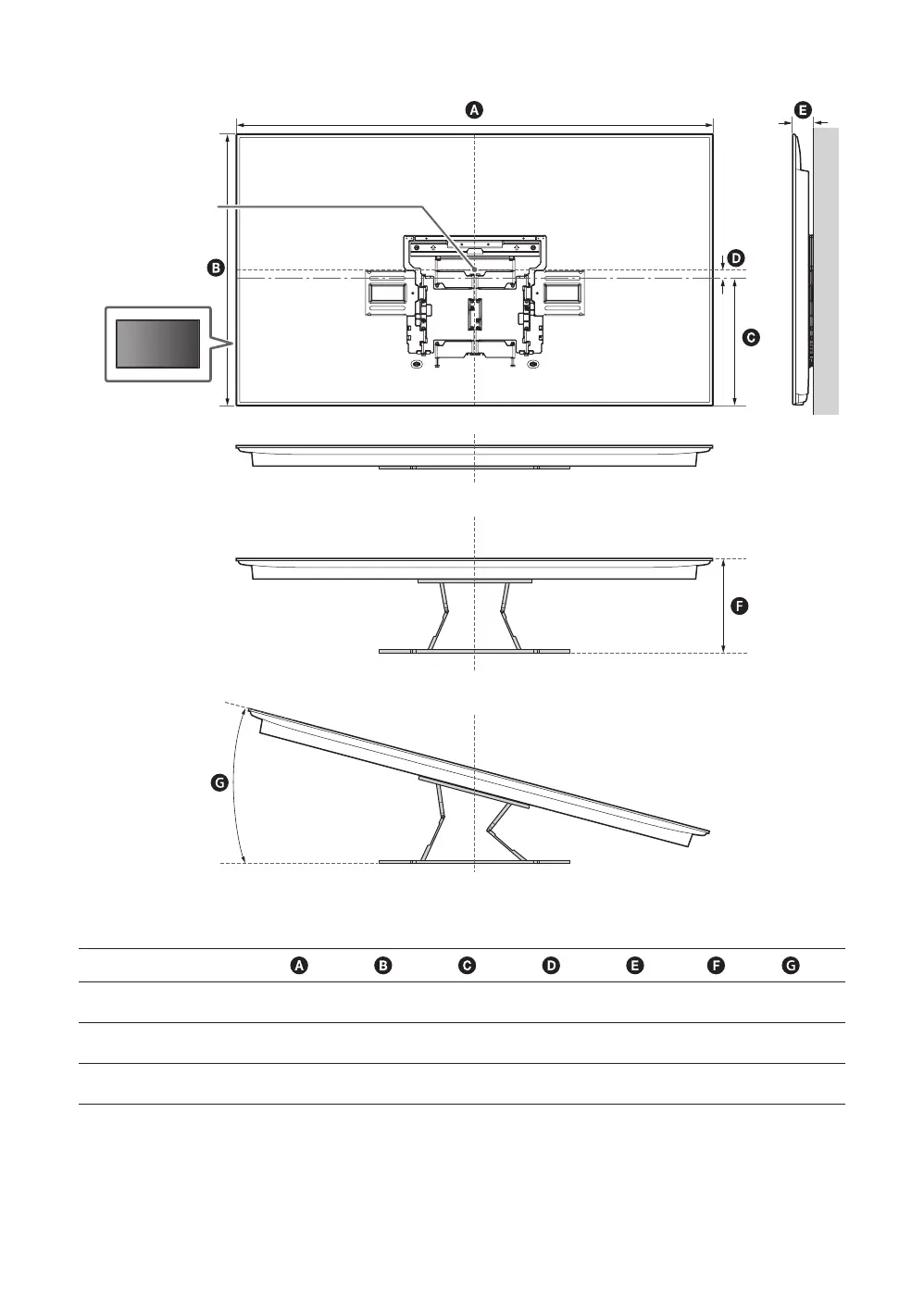
Measurement for Wall-Mount Bracket installation on the wall
Figures in the table may differ slightly depending on the installation.
Screen center point
(mm/inch)
Model Name
* *
(º)
XR-77A8xL / 77A8xCL
1722 /
67 7/8
998 /
39 3/8
340 /
13 1/2
165 /
6 1/2
66 /
2 5/8
269 /
10 5/8
15
XR-65A8xL / 65A8xCL
1448 /
57 1/8
836 /
33
342 /
13 1/2
82 /
3 1/4
66 /
2 5/8
269 /
10 5/8
18
XR-55A8xL / 55A8xCL
1227 /
48 3/8
712 /
28 1/8
342 /
13 1/2
20 /
13/16
66 /
2 5/8
269 /
10 5/8
19
* (Approx.)

Other manuals for Sony SU-WL855

Related product manuals