EasyManua.ls Logo

Space-Ray CB20-N5 - Dimensions - CB Series

Space-Ray CB20-N5
52 pages
Print Icon
To Next Page IconTo Next Page
To Next Page IconTo Next Page
To Previous Page IconTo Previous Page
To Previous Page IconTo Previous Page
Loading...
Form 43471000
-8- May 2021
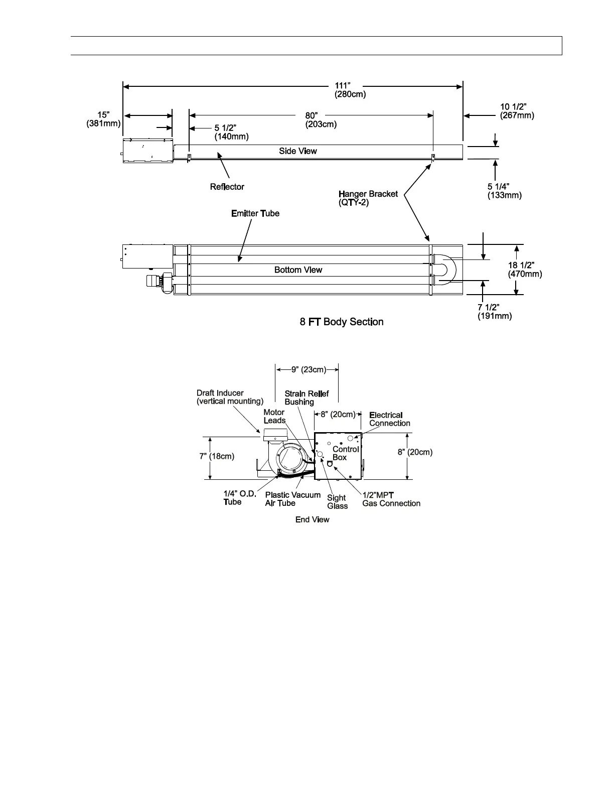
7.0) DIMENSIONS CB SERIES

Other manuals for Space-Ray CB20-N5

Related product manuals