EasyManua.ls Logo

Space-Ray CB30-N5 - Page 23

Space-Ray CB30-N5
52 pages
Print Icon
To Next Page IconTo Next Page
To Next Page IconTo Next Page
To Previous Page IconTo Previous Page
To Previous Page IconTo Previous Page
Loading...
Form 43471000
-22- May 2021
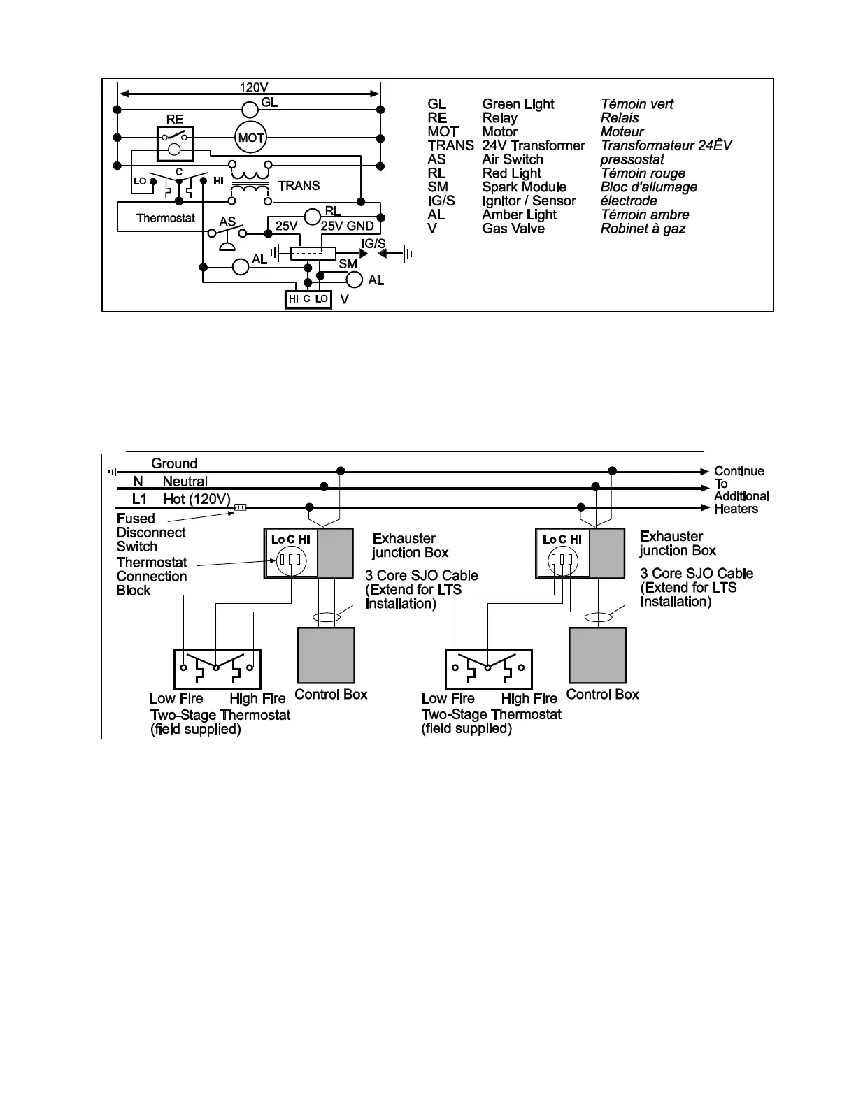
TWO STAGE CONTROLS - SCHEMATIC WIRING DIAGRAM
TWO STAGE CONTROLS - THERMOSTAT WIRING DIAGRAMS
A. LOW VOLTAGE (24V) THERMOSTAT CONNECTIONS SINGLE HEATER PER THERMOSTAT

Other manuals for Space-Ray CB30-N5

Related product manuals