EasyManua.ls Logo

Spirax Sarco BT1050 - Page 20

Spirax Sarco BT1050
56 pages
Print Icon
To Next Page IconTo Next Page
To Next Page IconTo Next Page
To Previous Page IconTo Previous Page
To Previous Page IconTo Previous Page
Loading...
IM-P405-39 AB Issue 4
20
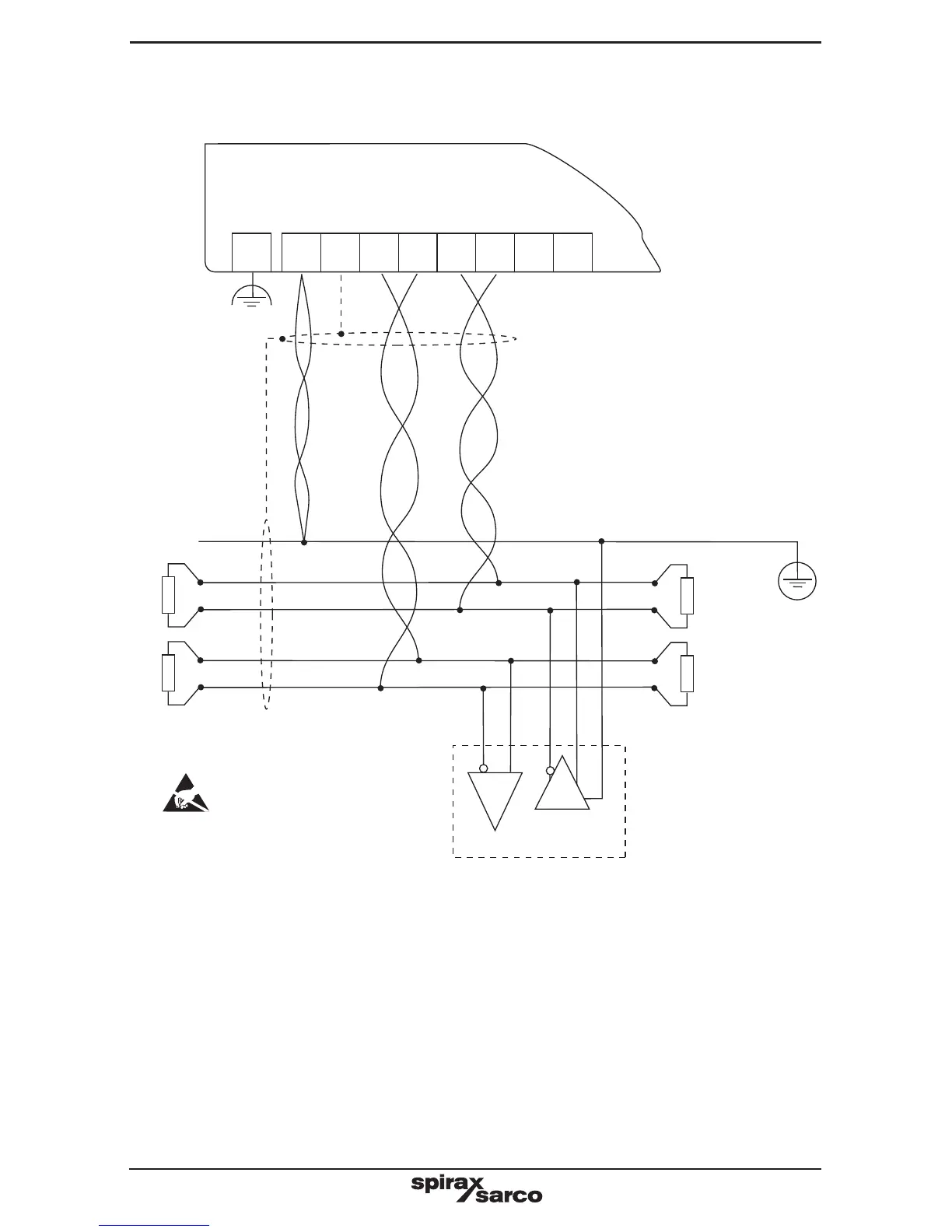
5.4 EIA / TIA-485 communication wiring diagram
The product can be connected as a slave to a two or four-wire EIA / TIA-485 multi-drop network.
A
B
A'
B'
Fig. 8 RS485 / Modbus full duplex circuit (view from the top)
EIA / TIA-485 wiring notes:
EIA / TIA-485 symbols are used (A = Tx-, B = Tx+ and A' = Rx-, B' = Rx+).
The signal direction is relative to the product being the Modbus slave, i.e. Tx+ from the product
(slave) is to be connected to the Rx+ of the master.
- Twisted pair cable should not be required for short lengths of cable < 1.5 m (< 5 ft). Standard
screened cable should suffice.
- The H/D (Half duplex) pins are used to select two or four-wire Modbus:
i) For two-wire mode, connect terminal 91 and 90 together.
ii) For four-wire mode, do not connect terminals 91 and 90 together.
Continued on page 17
Rx
Tx
Master
Common
Earth*
R*
R*
* See
wiring
notes
Front
Slave(s)
(Boiler controller)
9091929394959697E
H / DH / DRx+Rx-Tx+Tx-SCNCOM
R*
R*

Other manuals for Spirax Sarco BT1050