EasyManua.ls Logo

Spirax Sarco LCS3050 - Mechanical Installation

Spirax Sarco LCS3050
24 pages
Print Icon
To Next Page IconTo Next Page
To Next Page IconTo Next Page
To Previous Page IconTo Previous Page
To Previous Page IconTo Previous Page
Loading...
IM-P693-06 EMM Issue 1
7
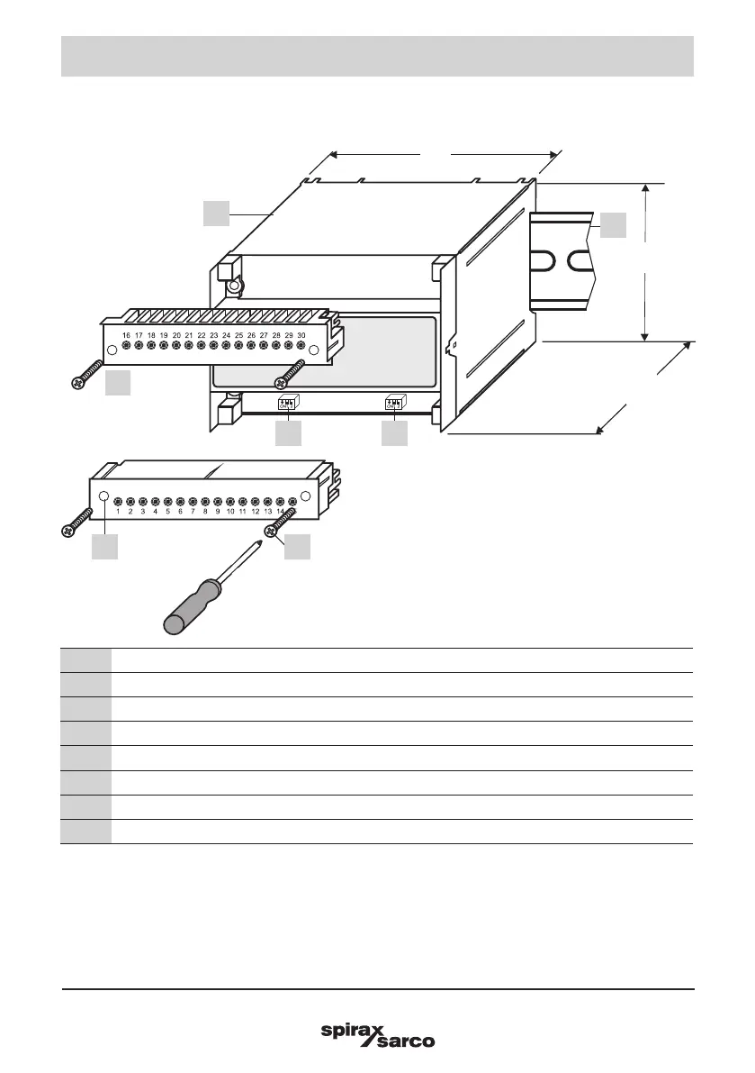
LCS3050 Low Water Level Switch for two probes
3.1 Dimensions (approximate) in mm
3. Mechanical installation
Item
1
Upper terminal strip
2
Lower terminal strip
3
Fixing screws (cross recess head screws M3)
4
Code switch for switching on/off level probe 1/2
5
Code switch for switching on/off level probe 1/2
6
Enclosure
7
Supporting rail type TH 35, EN 60715
Fig. 2
The code switches are accessible after removing the lower terminal strip. The terminal strips can be unplugged
after undoing the right and the left fixing screws.
7
100
74
120
5
32
1
6
4

Related product manuals