EasyManua.ls Logo

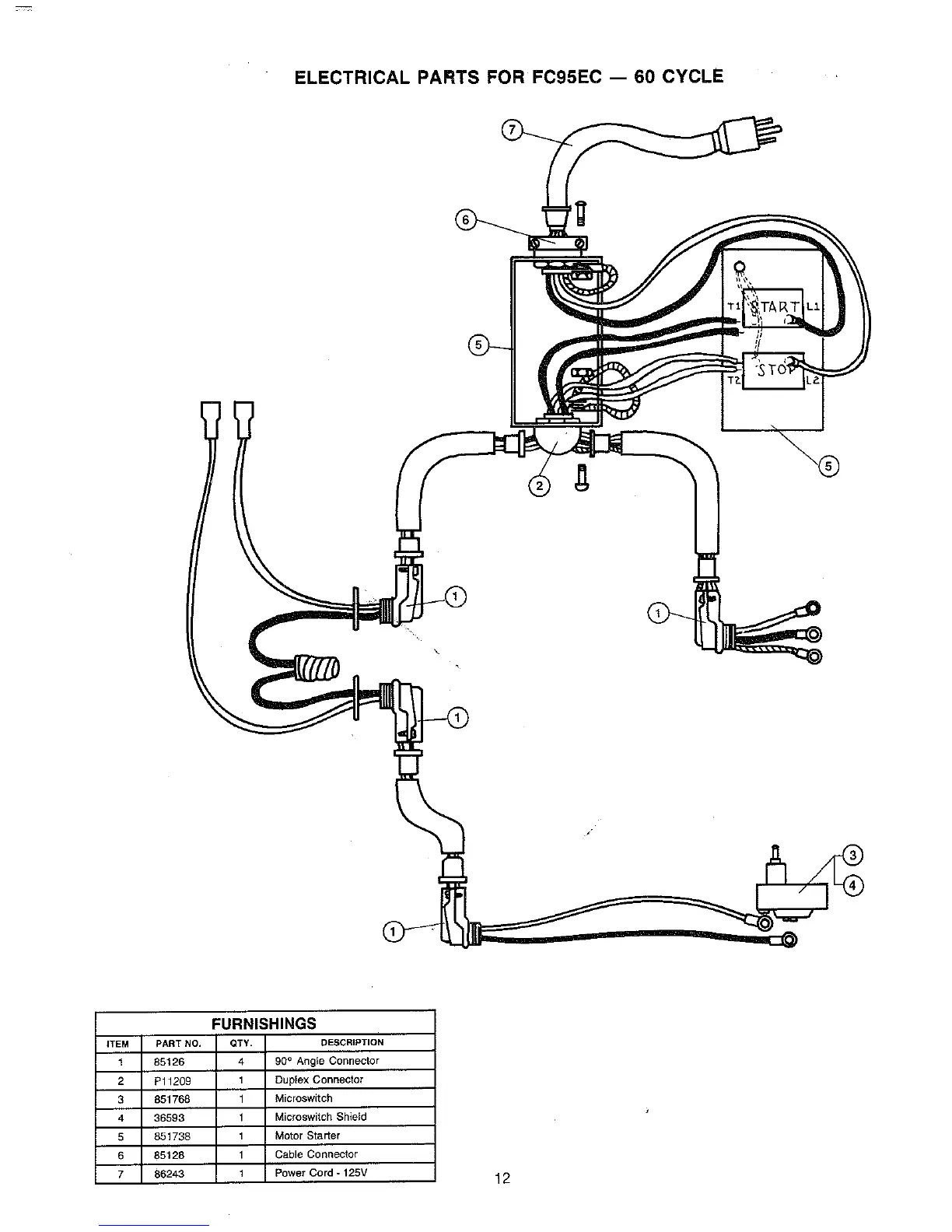
Stanley Bostitch FC95EC - FC95 EC Electrical System (60 Cycle); FC95 EC Electrical Diagram; FC95 EC Electrical Parts Furnishings

Stanley Bostitch FC95EC
20 pages
To Next Page IconTo Next Page
To Next Page IconTo Next Page
To Previous Page IconTo Previous Page
To Previous Page IconTo Previous Page
Loading...

Related product manuals