EasyManua.ls Logo

Stihl MS311 - Page 17

Stihl MS311
128 pages
Print Icon
To Next Page IconTo Next Page
To Next Page IconTo Next Page
To Previous Page IconTo Previous Page
To Previous Page IconTo Previous Page
Loading...
MS 311, MS 391
English
15
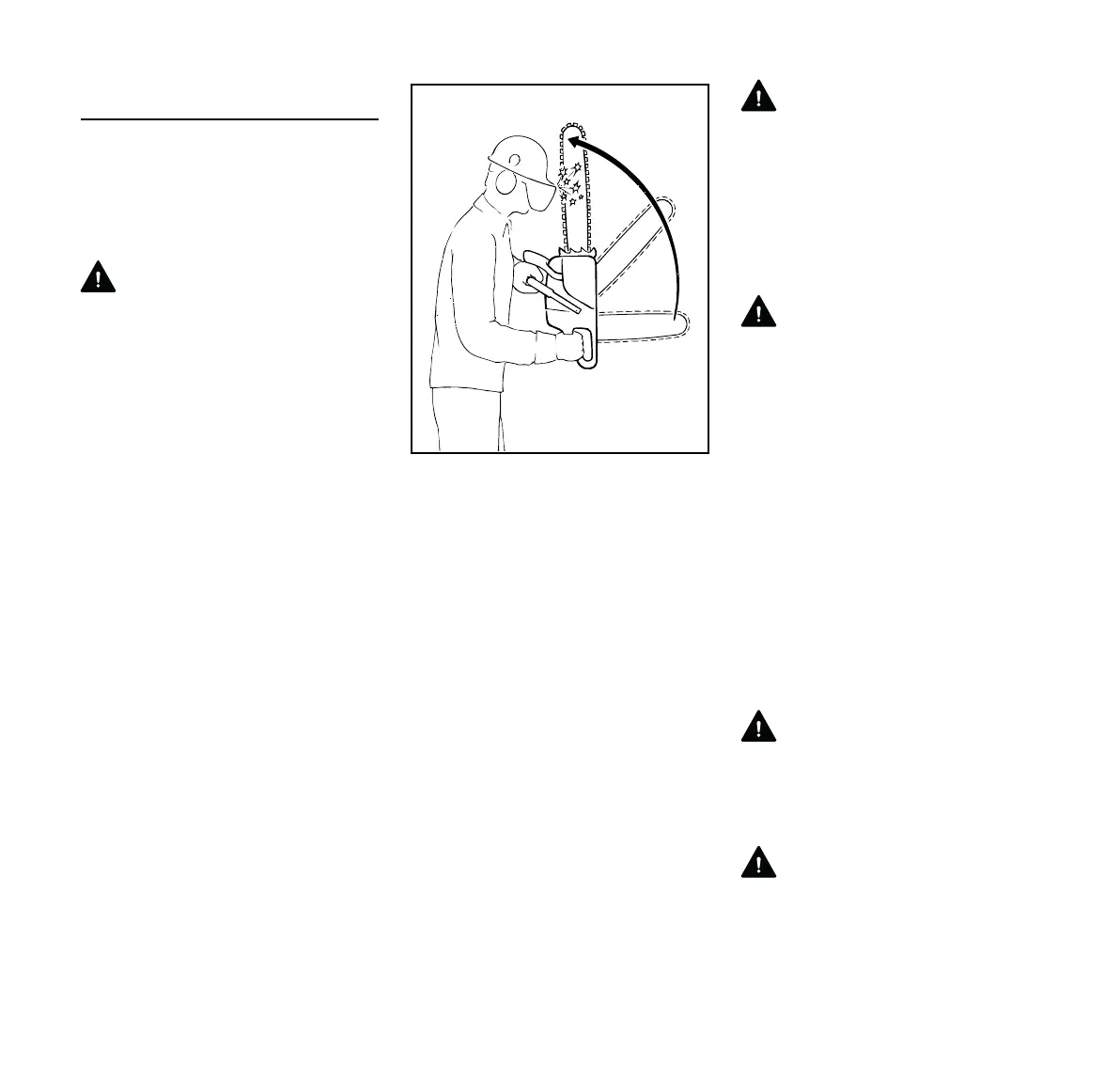
Devices for Reducing the Risk of
Kickback Injury
Stihl recommends the use of green
labeled reduced kickback bars and low
kickback saw chains on your chain saw
equipped with a Stihl Quickstop chain
brake.
WARNING
To reduce the risk of injury, never use a
chain saw if the chain brake does not
function properly. Take the chain saw to
your local STIHL servicing dealer. Do
not use the chain saw until the problem
has been rectified.
STIHL Quickstop Chain Brake
STIHL has developed a saw chain
stopping system designed to reduce the
risk of injury in certain kickback
situations. It is called a Quickstop chain
brake.
There are two mechanisms for activating
the chain brake if it is in a properly
maintained condition:
manual activation: If a kickback
occurs, the chain saw moves
upwards towards the user in a
rotating motion around the front
handle. The brake is designed to
engage if the left hand contacts the
front guard, which is the activation
lever for the brake, and pushes it
forward.
inertia activation: All STIHL chain
saws are equipped with an interia
Quickstop chain brake. If the
kickback impulse is strong enough,
this alone is sufficient to engage the
brake even without contacting the
front hand guard.
WARNING
Never operate your chain saw without a
front hand guard. In a kickback situation
this guard helps protect your left hand
and other parts of your body. In addition,
removal of the hand guard on a chain
saw equipped with a Quickstop chain
brake will disable the activation
mechanism of the chain brake.
WARNING
No Quickstop or other chain brake
device prevents kickback. These
devices are designed to reduce the risk
of kickback injury, if activated, in certain
kickback situations. In order for the
Quickstop to reduce the risk of kickback
injury, it must be properly maintained
and in good working order. See the
chapter of your instruction manual
entitled "Chain Brake" and the section
"Maintenance, Repair and Storing" at
the end of these Safety Precautions. In
addition, there must be enough distance
between the bar and the operator to
ensure that the Quickstop has sufficient
time to activate and stop the chain
before potential contact with the
operator.
WARNING
An improperly maintained chain brake
may increase the time needed to stop
the saw chain after activation, or may
not activate at all.
WARNING
Never run the chain saw above idle
speed for more than 3 seconds when the
chain brake is engaged or when the saw
001BA174 KN

Related product manuals