EasyManua.ls Logo

Strobel 142-30 - Page 33

Default Icon
40 pages
Print Icon
To Next Page IconTo Next Page
To Next Page IconTo Next Page
To Previous Page IconTo Previous Page
To Previous Page IconTo Previous Page
Loading...
29 MA_141_142_A10-6-7-3-6-5_130617_en
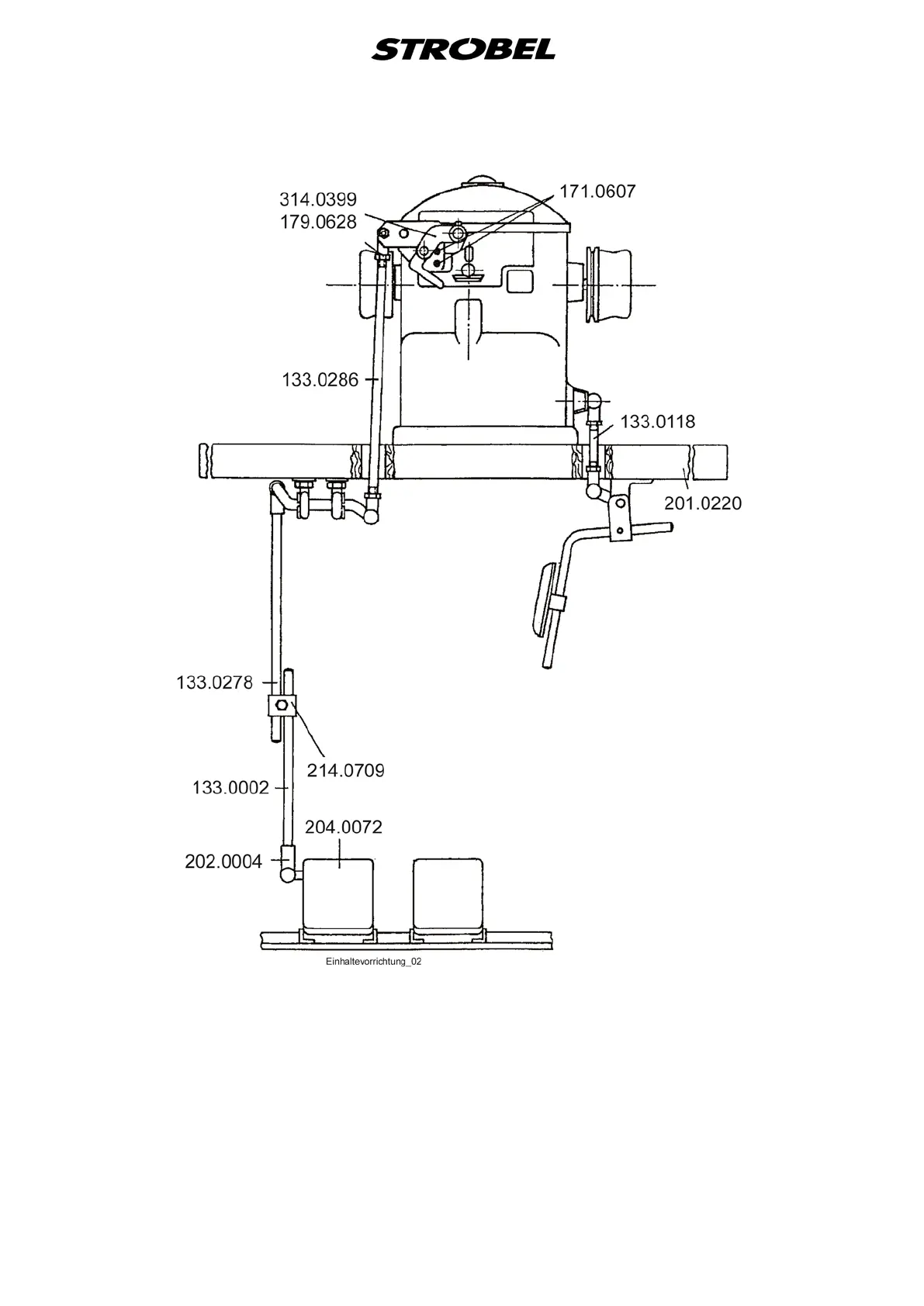
Fig. 14

Related product manuals