EasyManua.ls Logo

Suncast BMC3601 - Hardware Components; Assembly Process; Pre-assembly Steps

Suncast BMC3601
23 pages
Print Icon
To Next Page IconTo Next Page
To Next Page IconTo Next Page
To Previous Page IconTo Previous Page
To Previous Page IconTo Previous Page
Loading...
7
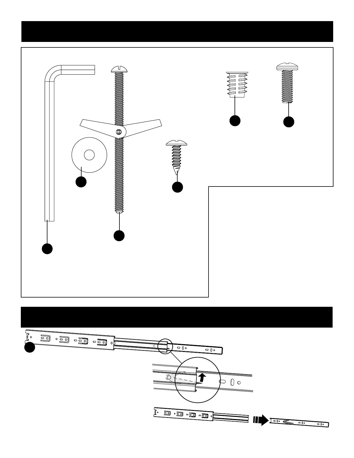
#10 x .75
Pan Head
Vis à tête
cylindrique bombée
n° 10 x 19 mm
Perno de cabeza
segmentada
n˚10 x 0,75 pulg.
x19
N
0480500 - Hardware Bag
Hardware shown at actual size (*Un-
less otherwise noted). Extra hardware
provided. Not all are used.
Quincaillerie illustrée à la taille réelle
(*sauf indication contraire). Quincail-
lerie
supplémentaire fournie. Toute la quin-
caillerie ne doit pas être utilisée.
Los accesorios se muestran en tama-
ño real (*salvo indicación en con-
trario.) Se incluyen
elementos de fijación adicionales. No
se usan todos.
#8 x 1/2” Screw
Vis à métaux 1/2 pouce
Tornillo de máquina
de 1/2 pulgada
x13
Insert Nut
insérer un écrou
inserte la tuerca
x13
Q
R
AA
S
T
4mm Hex Key
clé hexagonale de 4mm
llave hexagonal de 4mm
x1
Washer
la rondelle
la arandela
x2
Toggle Anchor
basculer l’ancre
alternar el ancla
x2
Hardware / Quincaillerie / Elementos de fijación - BMC3603
Before you begin, separate the drawer glides
into two parts, the wide base and the narrow
glide.
Avant de commencer, séparez les glissières
du tiroir en deux parties: la base large et la
glisse étroite.
Antes de comenzar, separe los deslizadores
del cajón en dos partes, la base ancha y el
deslizamiento estrecho.
X
Extend
Étendre
Ampliar
Lift Catch
Levante la captura
Soulever le crochet
Separate
se séparer
separarse
Pre-assembly / Pré-assemblage / Preasamblea
1
2
3

Related product manuals