EasyManua.ls Logo

Superior VRL4543ZEN - INSTALLATION; CHECKING GAS CONNECTIONS; PRESSURE TESTING GAS SUPPLY PIPING SYSTEM; PRESSURE TESTING FIREPLACE GAS CONNECTIONS

Superior VRL4543ZEN
32 pages
Print Icon
To Next Page IconTo Next Page
To Next Page IconTo Next Page
To Previous Page IconTo Previous Page
To Previous Page IconTo Previous Page
Loading...
SuperiorFireplaces.us.com
126861-01L
12
INSTALLATION Continued
CHECKING GAS CONNECTIONS
WARNING: Test all gas piping and connections,
internal and external to unit, for leaks after installing
or servicing. Correct all leaks at once.
WARNING: Never use an open flame to check for
a leak. Apply a noncorrosive leak detection fluid to
all joints. Bubbles forming show a leak. Correct all
leaks at once.
CAUTION: Make sure external regulator has been
installed between propane/LP supply and fireplace.
See guidelines under Connecting Fireplace to Gas
Supply.
PRESSURE TESTING GAS SUPPLY PIPING SYSTEM
Test Pressures In Excess Of 1/2 PSIG (3.5 kPa)
1. Disconnect fireplace with its appliance main gas valve (control
valve) and equipment shutoff valve from gas supply piping
system. Pressures in excess of 1/2 psig (3.5 kPa) will damage
fireplace regulator.
2. Cap off open end of gas pipe where equipment shutoff valve was
connected.
3. Pressurize supply piping system by either opening propane/LP
supply tank valve for propane/LP gas or opening main gas valve
located on or near gas meter for natural gas or using compressed
air.
4. Check all joints of gas supply piping system. Apply noncorrosive
leak detection fluid to all joints. Bubbles forming show a leak.
5. Correct all leaks at once.
6. Reconnect fireplace and equipment shutoff valve to gas supply.
Check reconnected fittings for leaks.
Test Pressures Equal To or Less Than 1/2 PSIG (3.5 kPa)
1. Close equipment shutoff valve (see Figure 13).
2. Pressurize supply piping system by either opening propane/LP
supply tank valve for propane/LP gas or opening main gas valve
located on or near gas meter for natural gas or using compressed
air.
3. Check all joints from gas meter to equipment shutoff valve for natural
gas or propane/LP supply to equipment shutoff valve for propane/
LP (see Figures 14 or 15). Apply noncorrosive leak detection fluid
to all joints. Bubbles forming show a leak.
4. Correct all leaks at once.
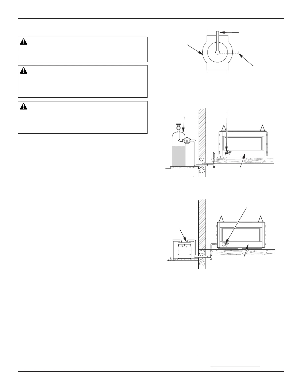
Figure 13 - Equipment Shutoff Valve
Open
Closed
Equipment
Shutoff Valve
Figure 14 - Checking Gas Joints for Propane/LP Gas Fireplace
Propane/LP
Supply Tank
Gas Valve
Equipment
Shutoff Valve
Gas Meter
Gas Valve
Equipment Shutoff Valve
Figure 15 - Checking Gas Joints for Natural Gas Fireplace
PRESSURE TESTING FIREPLACE GAS CONNECTIONS
1. Open equipment shutoff valve (see Figure 13).
2. Open main gas valve located on or near gas meter for natural gas
or open propane/LP supply tank valve.
3. Make sure control knob of fireplace is in the OFF position.
4. Check all joints from equipment shutoff valve to gas control valve
(see Figures 14 or 15). Apply noncorrosive leak detection fluid
to all joints. Bubbles forming show a leak.
5. Correct all leaks at once.
6. Light fireplace (see Operating Fireplace, Page 19). Check all other
internal joints for leaks.
7. Turn off fireplace (see To Turn Off Gas to Appliance, Page 19).

Related product manuals