EasyManua.ls Logo

Svan SR185600F - Descongelação; Envio E Reposicionamento; Reposicionar a Porta; Transportar E Alterar O Posicionamento

Svan SR185600F
56 pages
Print Icon
To Next Page IconTo Next Page
To Next Page IconTo Next Page
To Previous Page IconTo Previous Page
To Previous Page IconTo Previous Page
Loading...
PT - 52
5.1 Descongelação
Descongelar o Compartimento
do Frigoríco
O descongelamento ocorre
automaticamente no compartimento
do frigoríco durante o funcionamento.
A água é recolhida pela bandeja de
evaporação e evapora automaticamente.
A bandeja de evaporação e o orifício
de drenagem de água devem ser
limpos periodicamente com a tampa de
drenagem de descongelamento para
evitar que a água se acumule no fundo
do frigoríco ao invés de uir para fora.
Poderá ainda limpar o orifício de
drenagem deitando meio copo de água
no mesmo.
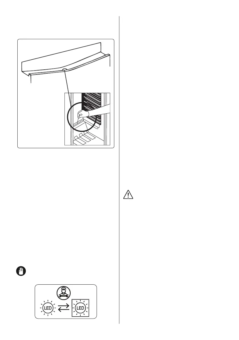
Substituir a iluminação LED
Para substituir qualquer um dos LEDs,
entre em contato com o Centro de Serviço
Autorizado mais próximo.
Nota: Os números e a localização das
luzes LED poderá mudar de acordo
com o modelo.
Se o produto estiver equipado com
lâmpada LED
Este produto contém uma fonte de luz de
classe de eciência energética <E>.
Se o produto estiver equipado com faixa
(s) de LED ou placa (ões) de LED
Este produto contém uma fonte de luz de
classe de eciência energética <F>.
6 ENVIO E REPOSICIONAMENTO
6.1 Transportar e alterar
o posicionamento
A embalagem original e a espuma podem
ser guardadas para novo transporte
(opcional).
Segure o seu eletrodoméstico com
embalagem espessa, tas ou cordas
fortes e siga as instruções de transporte
indicadas na embalagem.
Remova todas as partes amovíveis
e xe-as ao eletrodoméstico contra
choques utilizando tas aquando
da alteração de posicionamento ou
transporte.
Transporte sempre o seu
eletrodoméstico na posição vertical.
6.2 Reposicionar a Porta
Não é possível alterar a direção de
abertura da porta do seu eletrodoméstico
se as pegas da porta estiverem
instaladas na superfície frontal da porta
do eletrodoméstico.
É possível alterar a direção de abertura
da porta em modelos sem pegas.
Se a direção de abertura da porta do
seu eletrodoméstico puder ser alterada,
contacte o Centro de Serviço Autorizado
mais próximo para alterar a direção de
abertura.

Table of Contents

Related product manuals