EasyManua.ls Logo

Swim'n Play end deck - Page 3

Default Icon
18 pages
Print Icon
To Next Page IconTo Next Page
To Next Page IconTo Next Page
To Previous Page IconTo Previous Page
To Previous Page IconTo Previous Page
Loading...
3
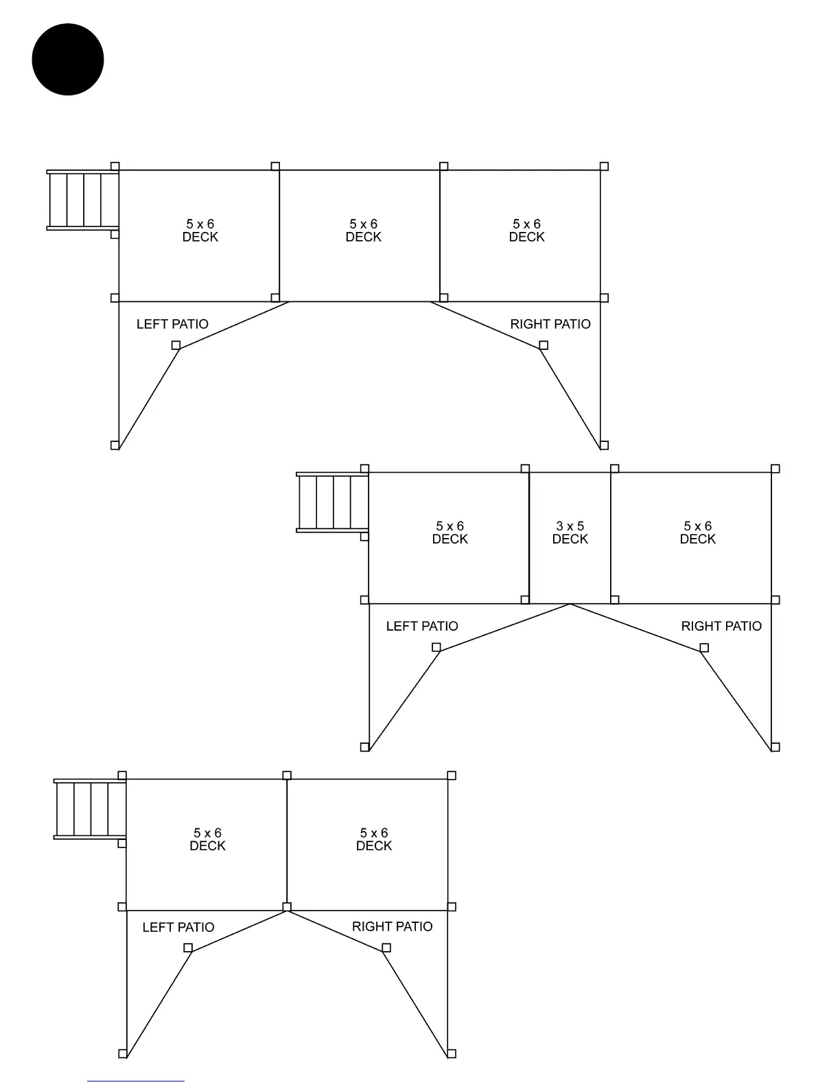
Clear out and level the ground in the location where your deck is to be installed.
Use the Assembly Drawings below for reference while assembling your deck
(Note: ladder can be installed on either side).
During assemly please note that the ledges on the pool are to be removed where the
deck meets the pool. The extension on the front of the deck will replace your pool legde.
Please refer to Step 7.
ASSEMBLY
DRAWINGS
(VIEWED FROM ABOVE)
18’ END DECK
15’ END DECK
12’ END DECK
LADDER
LADDER
LADDER
1