EasyManua.ls Logo

Swisher STD67522BS - Belt Replacement Guide; Head Engagement Belt Replacement; Power Transfer Belt Replacement

Swisher STD67522BS
39 pages
Print Icon
To Next Page IconTo Next Page
To Next Page IconTo Next Page
To Previous Page IconTo Previous Page
To Previous Page IconTo Previous Page
Loading...
10
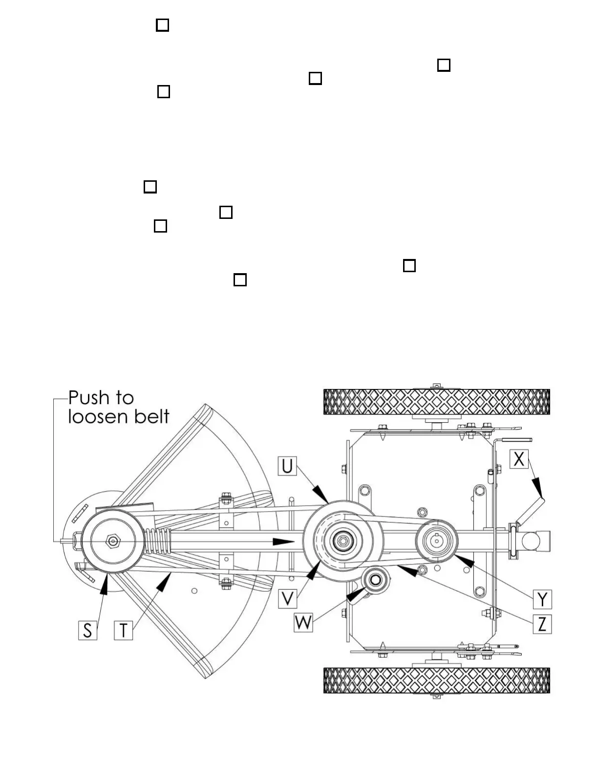
Head Engagement Belt Z Replacement
1. Remove front belt cover.
2. Remove old belt.
3. Install new belt by first routing belt under the engine and around engine pulley Y .
4. Then route belt around upper power transfer pulley V .
5. Ensure idler pulley W is located on the outside of belt as shown.
6. Ensure that belt is correctly installed in the grove of each pulley.
7. Reinstall front belt cover.
8. If belt tension had previously been adjusted, reset thumb wheel adjuster by rotating wheel clockwise as far as
adjuster will allow (see illustration in belt adjustment instructions). If head does not properly engage refer to
belt adjustment instructions.
Power Transfer Belt T Replacement
1. Remove front belt cover.
2. Remove Head Engagement Belt Z .
3. Loosen tilt handle X .
4. Push trimmer head toward back of unit, compressing tensioner spring.
5. Remove old belt.
6. Install new belt by first routing belt around lower power transfer pulley U .
Then route belt around front pulley S . CAUTION – Pinch Hazard: Ensure that you do not get any part of
your body between the belt and the pulleys as this may cause injury.
8. Release trimmer head and tighten tilt handle per operating instructions.
9. Reinstall Head Engagement Belt per instructions above.
10. Reinstall front belt cover.
11. If head does not properly engage refer to belt adjustment instructions.

Related product manuals