EasyManua.ls Logo

SystemAir TA 1100 EL - Connection Box TA 1400-4500 HW

SystemAir TA 1100 EL
30 pages
Print Icon
To Next Page IconTo Next Page
To Next Page IconTo Next Page
To Previous Page IconTo Previous Page
To Previous Page IconTo Previous Page
Loading...
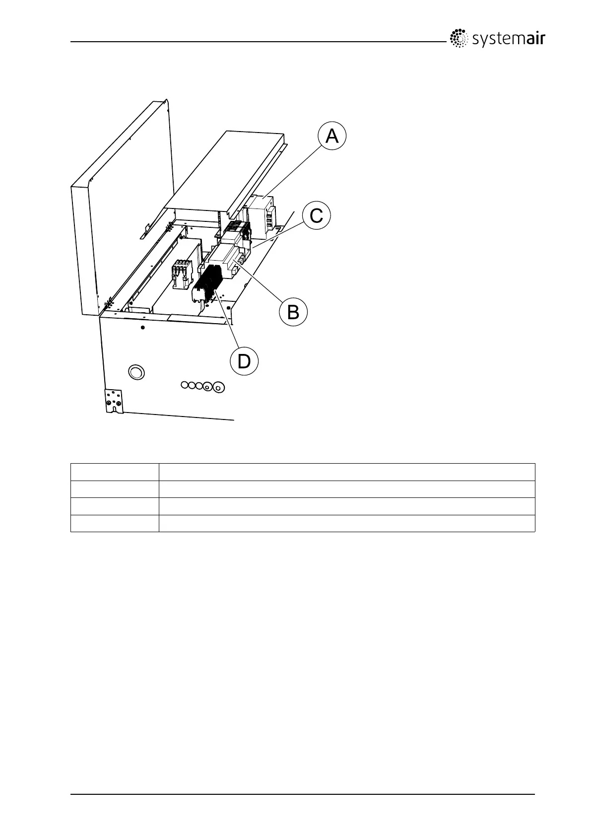
4.3.3ConnectionboxTA1400-4500HW
Fig.6ConnectionboxTA1400-4500HW
A
Speedtransformer
B
ControlunitCorrigo
C24VTransformer
DTerminalblock
TA450-4500Installationinstructions
132615
10
SystemairSverigeAB

Related product manuals