EasyManua.ls Logo

TACKLIFE PTR01A - Freehand Cutting Guide Installation; Cutting Bit Installation Procedure

TACKLIFE PTR01A
28 pages
Print Icon
To Next Page IconTo Next Page
To Next Page IconTo Next Page
To Previous Page IconTo Previous Page
To Previous Page IconTo Previous Page
Loading...
!
!
INSTALLING THE FREEHAND
CUTTING GUIDE
The freehand cutting guide is designed for
basic freehand cutting with the cutting bit. It
is ideally suited for cutting electrical outlet
holes in drywall.
1.
2.
NOTES:
a)
b)
3.
INSTALLING CUTTING BITS
To loosen and tighten the collet use the collet
wrench supplied with the tool.
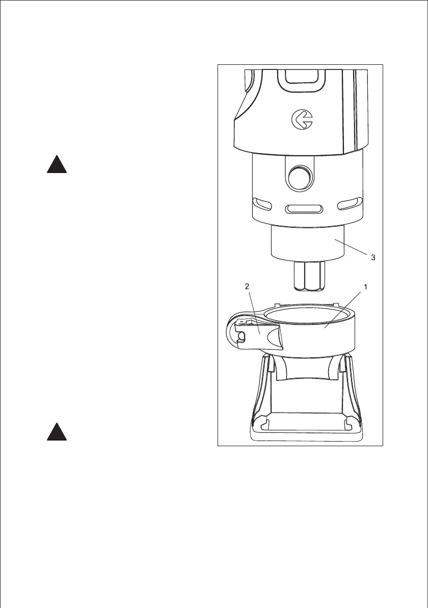
Open the freehand cutting guide mounting
collar (1) by pulling the quick release lever
(2) outward (Fig. 2).
Slide the mounting collar onto the bottom
of the motor housing (3).
The mounting collar must be pushed onto
the motor housing as far as it will go.
Rotate the mounting collar to position it to
provide the best visibility to the bit.
Lock the freehand cutting guide onto the
motor housing by pushing the quick release
lever inward toward the mounting collar until
it snaps into the locked position.
WARNING: Do NOT use the
freehand cutting guide with router
bits. The amount of control this
accessory provides is insufficient
and could cause you to lose
control and cause serious injury.
WARNING: Cutting bit and router
bit cutting surfaces are extremely
sharp. Handle with caution.
Fig. 2
- 08 -

Related product manuals