EasyManua.ls Logo

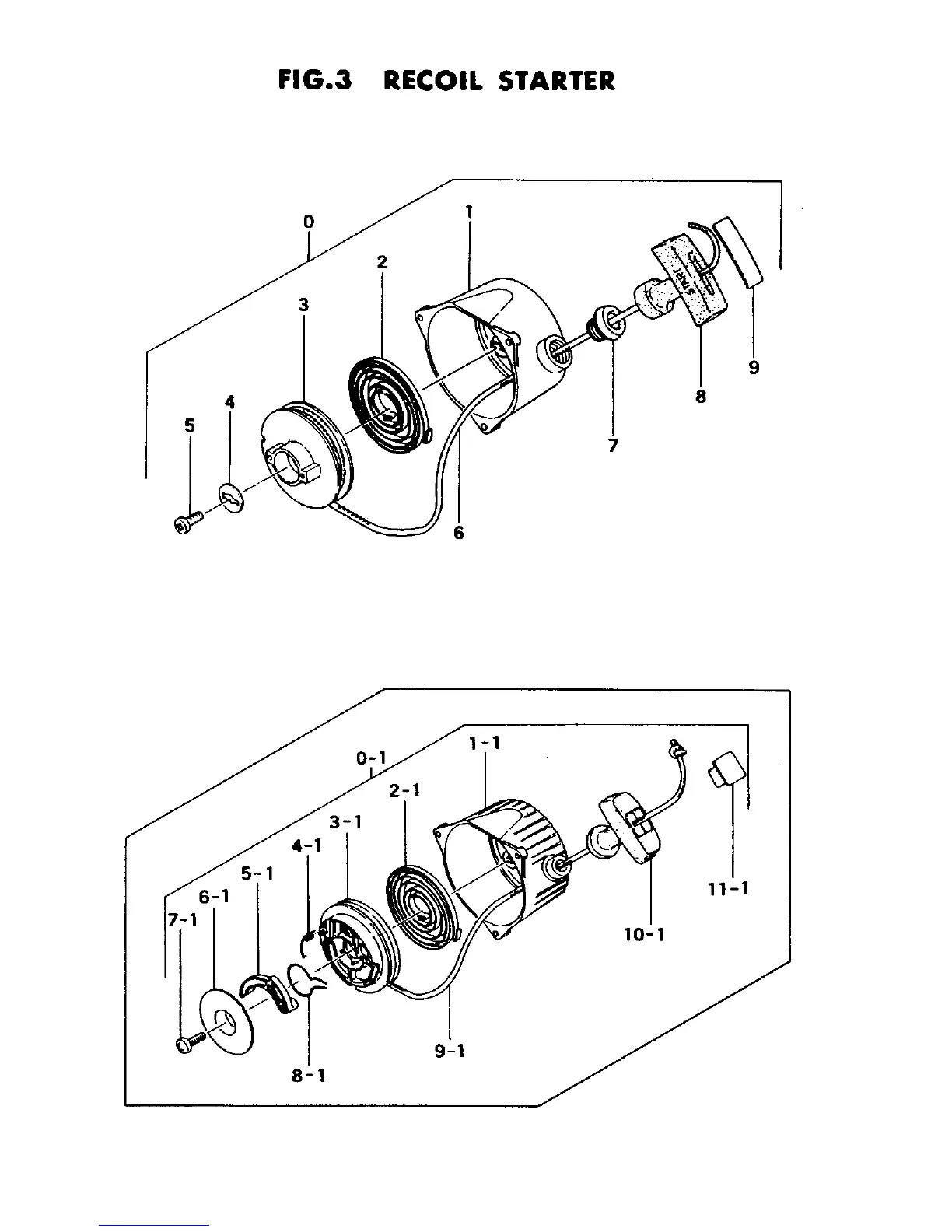
Tanaka SUM-321 - Recoil Starter System Components

Tanaka SUM-321
21 pages
Print Icon
To Next Page IconTo Next Page
To Next Page IconTo Next Page
To Previous Page IconTo Previous Page
To Previous Page IconTo Previous Page
Loading...

Related product manuals