EasyManua.ls Logo

Tangent spectrum X5 BT - Page 39

Tangent spectrum X5 BT
102 pages
Print Icon
To Next Page IconTo Next Page
To Next Page IconTo Next Page
To Previous Page IconTo Previous Page
To Previous Page IconTo Previous Page
Loading...
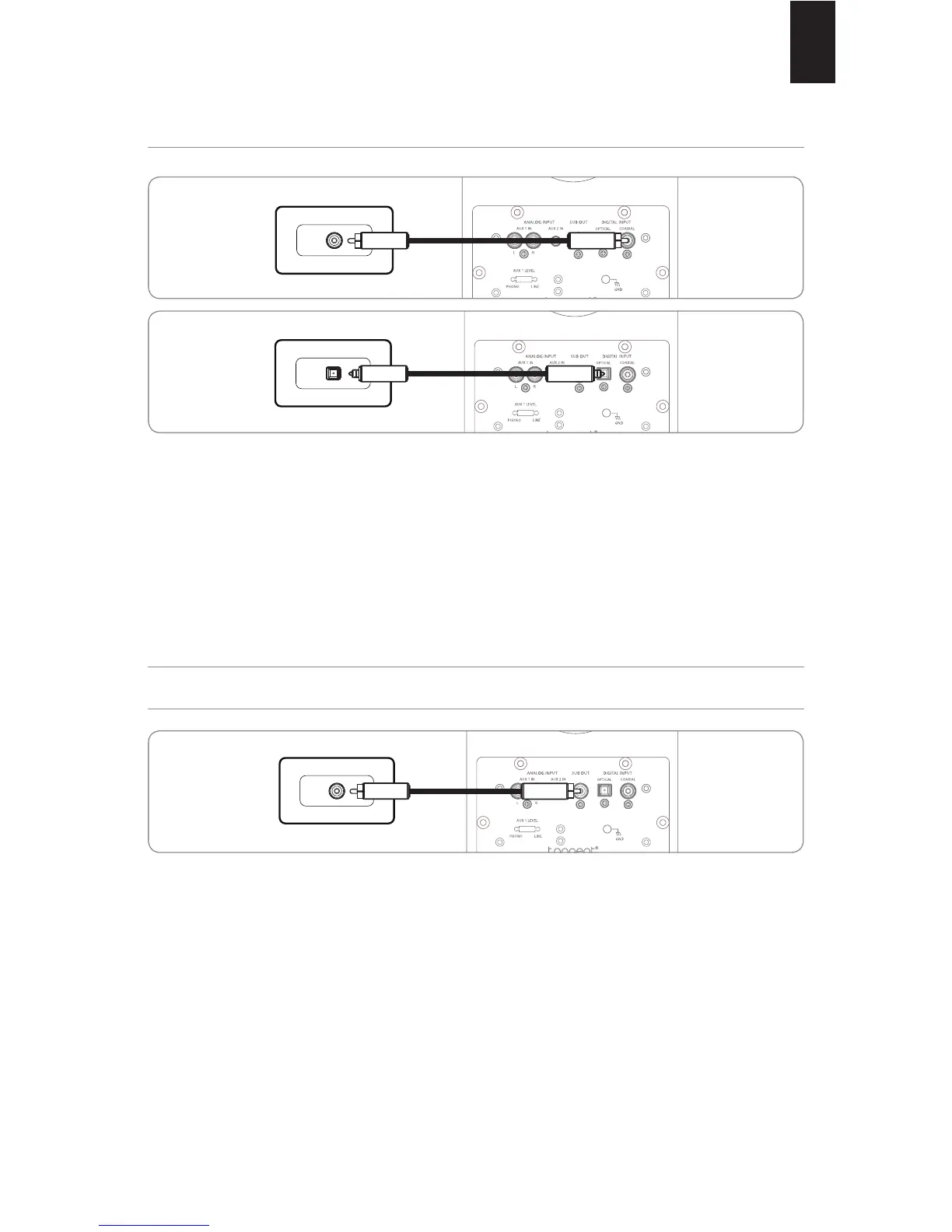
CONECTE UNA FUENTE DIGITAL DE AUDIO
Para conseguir la mejor calidad de audio, utilice por la entrada digital
del Spectrum X5-X6BT.
Esa entrada digital sólo es compatible con señal estéreo (PCM).
CONEXIÓN A UN ALTAVOZ DE GRAVES
ALIMENTADO
Si necesita más bajos, puede conectar un Subwoofer a su Spectrum X5-
X6BT utilizando un cable analógico RCA.

Related product manuals