EasyManua.ls Logo

Tannoy REVOLUTION

Tannoy REVOLUTION
16 pages
To Next Page IconTo Next Page
To Next Page IconTo Next Page
To Previous Page IconTo Previous Page
To Previous Page IconTo Previous Page
Loading...
HIGH FREQUENCY
TIVE(-) TERMINAL
LOW FREQUENCY
TIVE(-) TERMINAL
LOW FREQUEN
POSITIVE(+) TE
HIGH FREQUEN
POSITIVE(+) TE
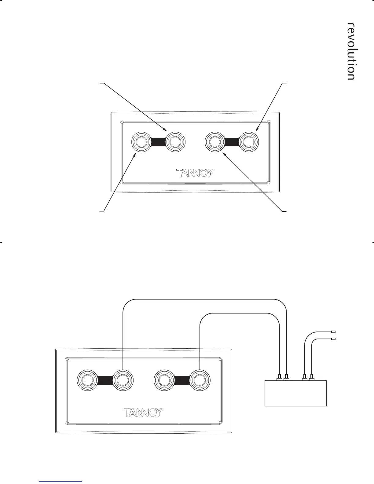
Fig.3 Single Wire Mode
TO RIGHT
SPEAKER
POWER AMPLIFIER
-+
L
+-
R
LINKS IN PLACE
REVOLUTION MANUAL _013
SET-UP DIAGRAMS
Fig.2 DC Terminal Panel
HIGH FREQUENCY
NEGATIVE(-) TERMINAL
HIGH FREQUENCY
POSITIVE(+) TERMINAL
LOW FREQUENCY
POSITIVE(+) TERMINAL
LOW FREQUENCY
NEGATIVE(-) TERMINAL
LINKS IN PLACE
TO RIGHT
SPEAKER
L R
+ - + -
LF- HF- LF+ HF+
LF- HF- LF+ HF+
POWER AMPLIFIER
Revolution manual Eng.qxd:Layout 1 15/3/10 11:53 Page 13

Related product manuals