EasyManua.ls Logo

Tannoy REVOLUTION

Tannoy REVOLUTION
16 pages
To Next Page IconTo Next Page
To Next Page IconTo Next Page
To Previous Page IconTo Previous Page
To Previous Page IconTo Previous Page
Loading...
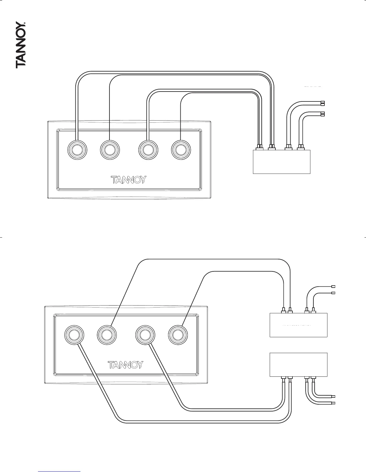
014_ REVOLUTION MANUAL
SET-UP DIAGRAMS
Fig.4 Bi-Wire Mode
LINKS REMOVED
-
+
-
+
SPEAKER
TO RIGHT
L
POWER AMPLIFIER
LOW FREQUENCY
POWER AMPLIFIER
HIGH FREQUENCY
L
+
R
--+
R
TO RIGHT
SPEAKER
LINKS REMOVED
SPEAKER
TO RIGHT
L
POWER AMPLIFIER
+
R
-+-
Fig.5 Bi-Amp Mode
TO RIGHT
SPEAKER
LINKS REMOVED
POWER AMPLIFIER
LINKS REMOVED
HIGH FREQUENCY
POWER AMPLIFIER
LOW FREQUENCY
POWER AMPLIFIER
L R
+ - + -
L R
+ - + -
L R
+ - + -
LF- HF- LF+ HF+
LF- HF- LF+ HF+
TO RIGHT
SPEAKER
TO RIGHT
SPEAKER
Revolution manual Eng.qxd:Layout 1 15/3/10 11:53 Page 14

Related product manuals